EasyManua.ls Logo

Teac Esoteric SZ-1 - Front Panel Layout and Controls; Main Unit Controls; Front Panel Display Indicators

Teac Esoteric SZ-1
24 pages
Print Icon
To Next Page IconTo Next Page
To Next Page IconTo Next Page
To Previous Page IconTo Previous Page
To Previous Page IconTo Previous Page
Loading...
8
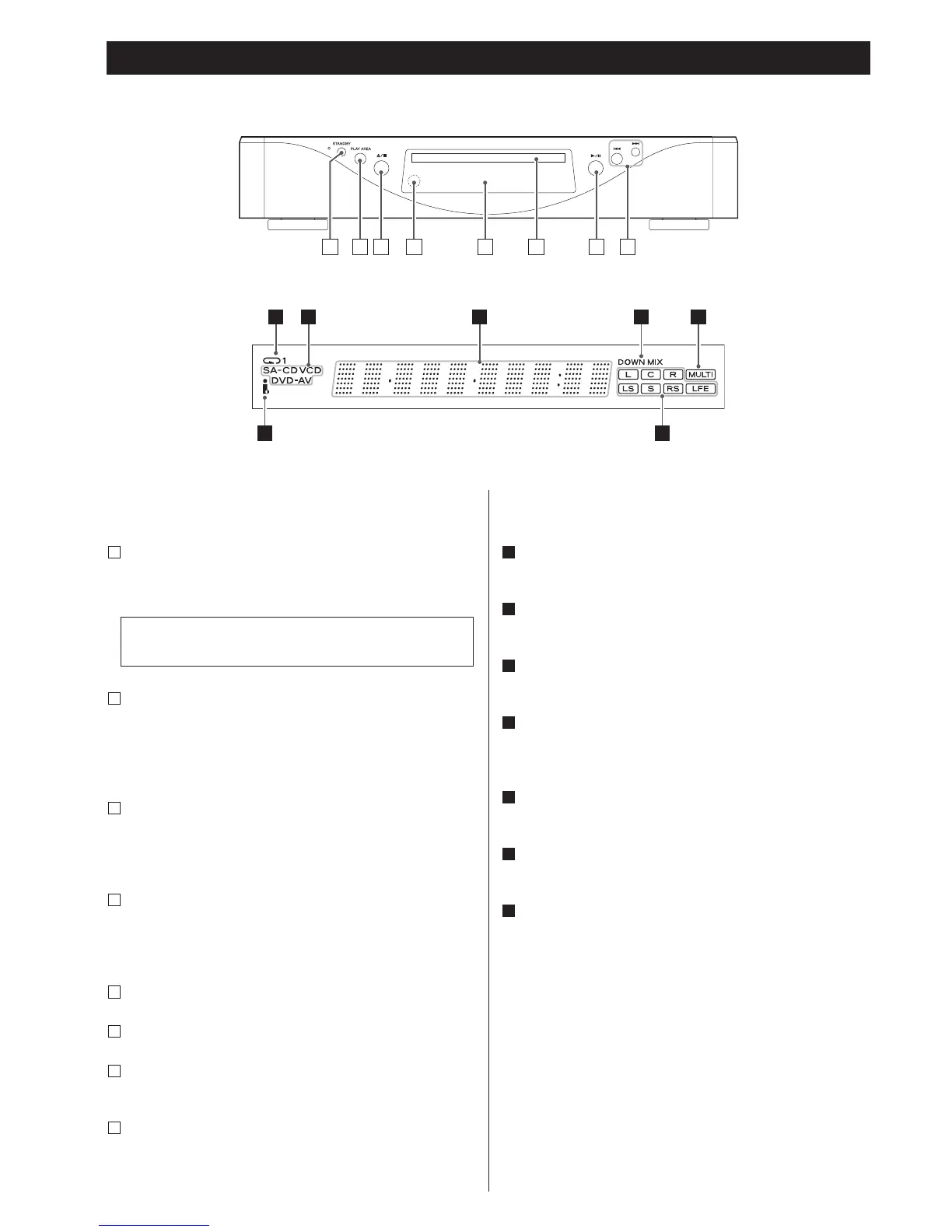
Front panel features
Display
a
b
c
d
e
f
g
Front Panel
STANDBY
Use this button to turn the unit on and standby.
The indicator is red in the standby mode. It turns blue when
the unit is turned on.
PLAY AREA
When playback is stopped, use this with Super Audio CDs to
select the playback area.
Hold down this for more than two seconds to enter the setup
mode.
OPEN/CLOSE/STOP
When playback is stopped, use this to open and close the disc
tray.
During playback, use this to stop playback.
Remote control sensor
Receives signals from the remote control unit. Point the
remote control unit at this sensor when operating the remote
control unit.
Display
Disc tray
PLAY/PAUSE
Use this to start or pause playback.
SKIP (.//)
Use these for skip operations. Pressing and holding these
buttons for more than a second changes the scanning speed.
H
G
F
E
D
C
B
The equipment draws nominal non-operating power from
the AC outlet with its STANDBY in the standby position.
A
BA C D E GF H
Display
REPEAT indicator
Lights when repeat play is selected.
Disc type indicator
Shows the type of disc currently loaded.
Message area
Alphanumeric display to show times, status messages, etc.
DOWN MIX indicator
Lights to show that a multi-channel source has been
downmixed to 2 channels.
MULTI indicator
Lights when the Analog Out setting is set to “Multi Channel”.
Channel indicators
Light to show which surround channels are currently in use.
i.LINK indicator
Lights when i.LINK output is enabled.
g
f
e
d
c
b
a
Front Panel

Related product manuals