EasyManua.ls Logo

Teac MT-20D-IO - Page 128

Teac MT-20D-IO
253 pages
Print Icon
To Next Page IconTo Next Page
To Next Page IconTo Next Page
To Previous Page IconTo Previous Page
To Previous Page IconTo Previous Page
Loading...
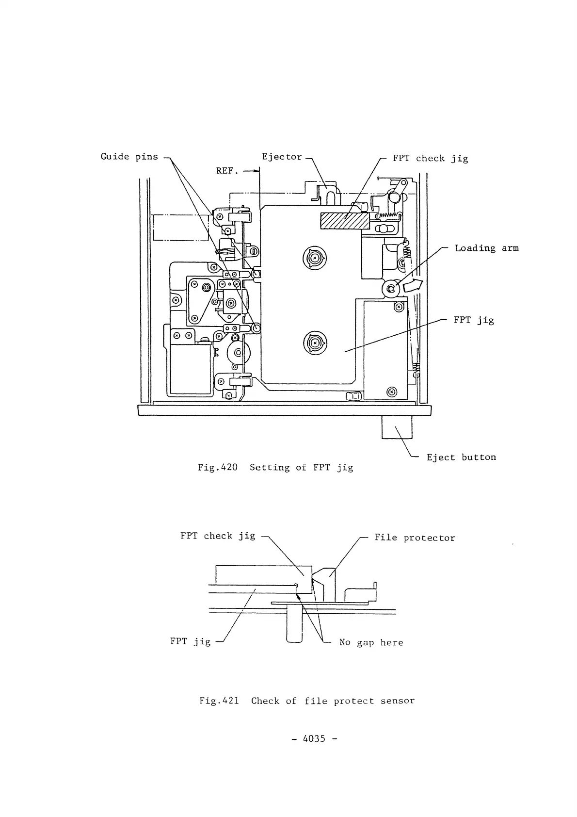
Guide
pins
FPT
check
jig
Loading
arm
FPT
jig
Eject
button
Fig.420
Setting
of
FPT
jig
FPT
check
jig
File
protector
/
FPT
jig7
No
gap
here
Fig.42l
Check
of
file
protect
sensor
-
4035
-