EasyManua.ls Logo

Tech West ACL4D2 - Coalescing Filter Parts Breakdown

Default Icon
28 pages
Print Icon
To Next Page IconTo Next Page
To Next Page IconTo Next Page
To Previous Page IconTo Previous Page
To Previous Page IconTo Previous Page
Loading...
13
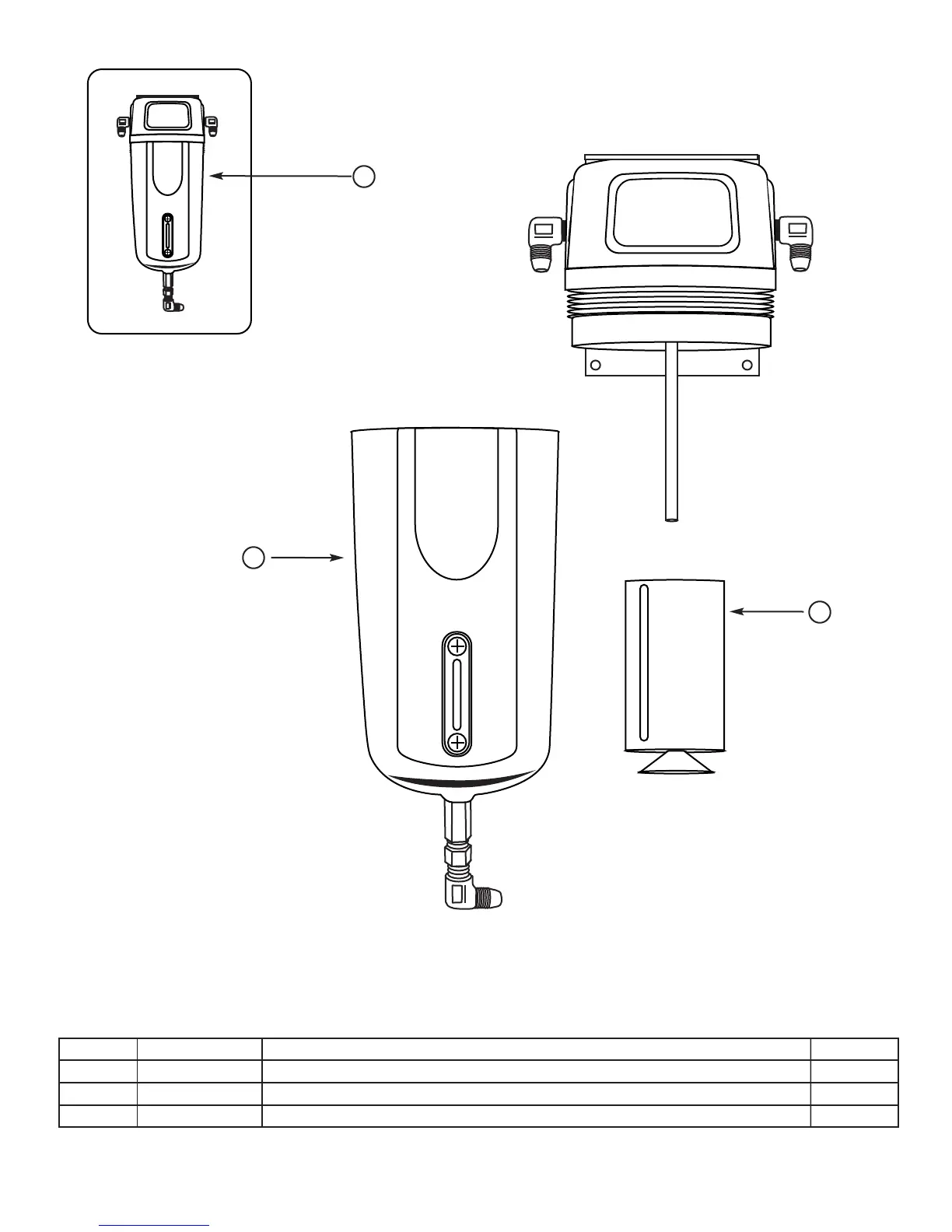
FILTER ASSEMBLY
1
2
3
KEY PART NO. DESCRIPTION UNIT
1 CFAO-375 COALESCING FILTER ASSEMBLY 3/8 1
2 CFEO-375 COALESCING FILTER ELEMENT 3/8 1
3 CFBP-375 COALESCING FILTER BOWL 1

Related product manuals