EasyManua.ls Logo

Technics QUARTZ SP-15 - Page 11

Technics QUARTZ SP-15
25 pages
Print Icon
To Next Page IconTo Next Page
To Next Page IconTo Next Page
To Previous Page IconTo Previous Page
To Previous Page IconTo Previous Page
Loading...
m@
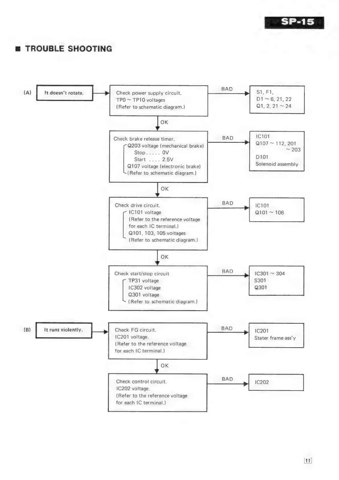
TROUBLE
SHOOTING
eld
BAD
(A)
It
doesn’t
rotate.
Check
power
supply
circuit.
31,,F1,
TPO
~
TP10
voltages
D1~
6,
21,
22
Q1,2,21~24
(Refer
to
schematic
diagram.)
BAD
1C101
Q107
~
112,
201
~
203
Check
brake
release
timer.
Q203
voltage
(mechanical
brake)
D101
Q107
voltage
(electronic
brake)
Solenoid
assembly
(Refer
to
schematic
diagram.)
BAD
1C101
Q101
~
106
Check
drive
circuit.
1C101
voltage
(Refer
to
the
reference
voltage
for
each
IC
terminal.)
Q101,
103,
105
voltages
(Refer
to
schematic
diagram.)
Check
start/stop
circuit
BAD
1C301
~
304
TP31
voltage
$301
1C302
voltage
Q301
voltage
(Refer
to
schematic
diagram.)
Q301
Check
FG
circuit.
1C201
voltage.
(Refer
to
the
reference
voltage
for
each
IC
terminal.)
1C201
Stater
frame
ass’
y
(B)
It
runs
violently.
Check
control
circuit.
1C202
voltage.
(Refer
to
the
reference
voltage
for
each
IC
terminal.)

Related product manuals