EasyManua.ls Logo

TECOM ChallengerLE TS1016LE - Page 30

Default Icon
46 pages
Print Icon
To Next Page IconTo Next Page
To Next Page IconTo Next Page
To Previous Page IconTo Previous Page
To Previous Page IconTo Previous Page
Loading...
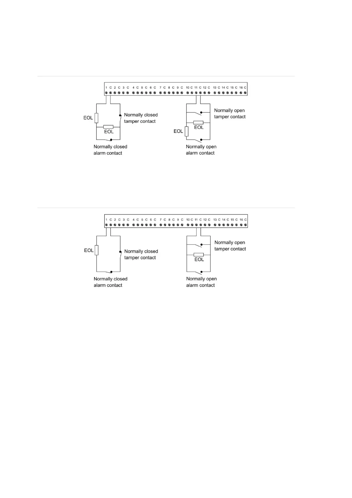
24 Challenger Series Installation and Quick Programming Manual
If connecting the Challenger panel to other configurations of zone input circuits,
the placement and values of EOL resistors may differ. In any case, you must test
the installation to avoid unexpected results.
Figure 14: Four-state monitored zone input circuits
Alternatively, the Challenger system can be configured to monitor zone inputs for
two states (sealed and unsealed). This is accomplished by using one EOL
resistor in each circuit, as shown in Figure 15 below.
Figure 15: Two-state monitored zone input circuits
Note: When the system is used in two-state configuration, inputs can only report
sealed and unsealed states. This prohibits the use of input types that need to
detect short or open states. See the Challenger Series Programming Manual for
details.
Special zone input types
Zone inputs programmed as area control type inputs can also be used to turn
areas on and off (as opposed to entering a PIN on a keypad). These inputs do
not have areas assigned to them: their functions are determined by assigning an
alarm group to them.