EasyManua.ls Logo

TecTake 403518 - Page 4

TecTake 403518
85 pages
Print Icon
To Next Page IconTo Next Page
To Next Page IconTo Next Page
To Previous Page IconTo Previous Page
To Previous Page IconTo Previous Page
Loading...
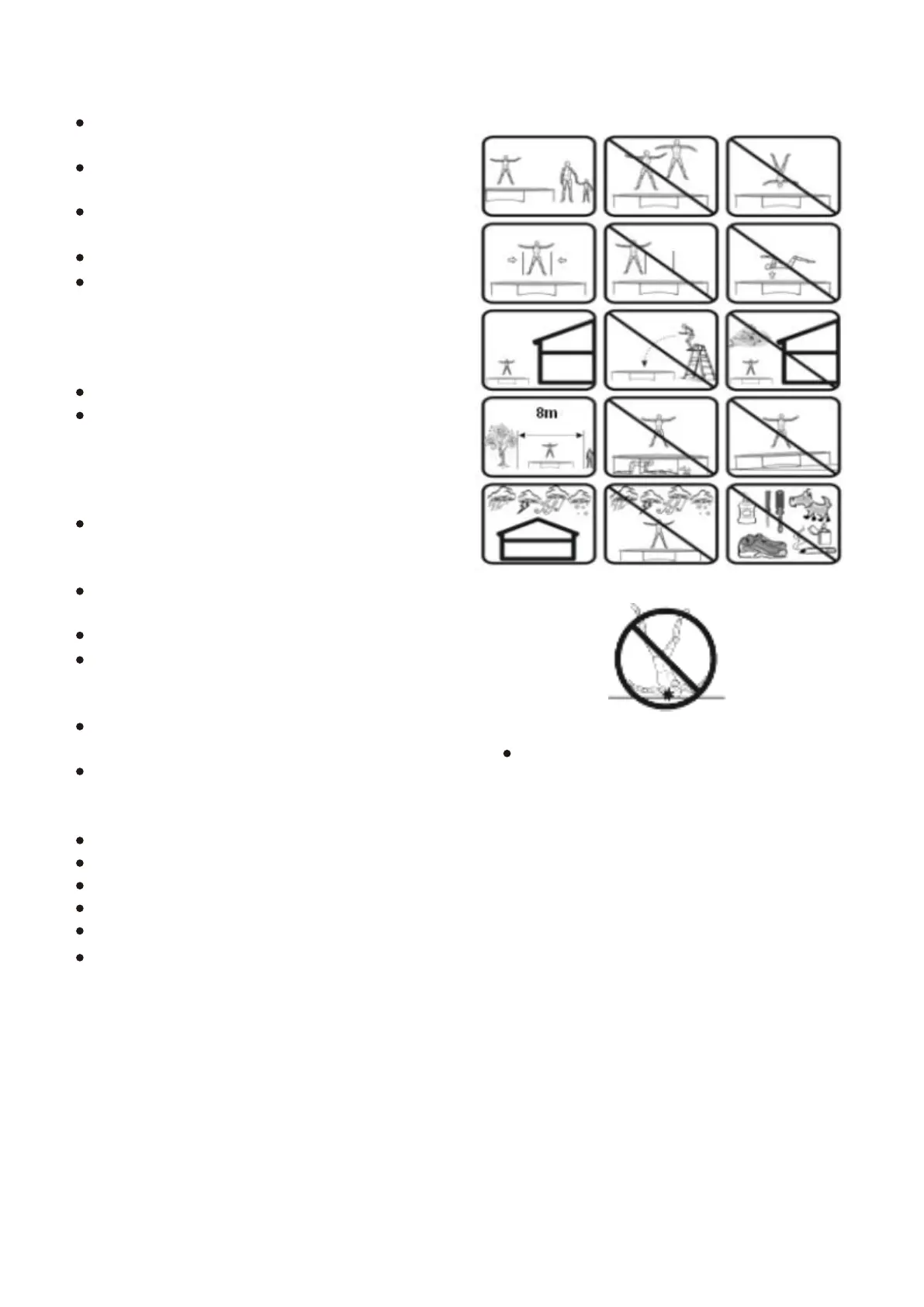
Always jump in the middle of the
trampoline.
While jumping, do not wear any clothing
or other objects that may get caught.
The trampoline must be set up on a
non-slip surface on even terrain.
Never jump off the trampoline.
The device may be carried away by
strong wind. If there is a very windy day
forecast, store the trampoline in a place
sheltered from the wind or anchor it to the
ground.
Do not use when wet.
Avoid moving the device in its fully
assembled state. If this is absolutely
necessary, at least 4 strong people should
securely move the trampoline with the
mat in a horizontal alignment.
Do not assemble the product near water
and ensure enough distance from
buildings etc.
Make sure that nobody is underneath the
trampoline during use.
Do not store objects under the trampoline.
Before use, make sure that the mat is
clean and dry. Defective mats are not to
be used and must be replaced.
Do not use the trampoline under the
influence of alcohol or medication.
The trampoline must be set up so that
there is enough room above the
trampoline mat.
Beginners should not try risky
manoeuvres such as somersaults.
Do not set up the trampoline near any hazards - near trees, power lines, masts, fences etc.
Avoid setting up the product under power.
Always make sure that the zip on the safety net is closed and hooked to secure.
Do not jump into the safety net on purpose.
Always close the net opening before use.
Do not eat while jumping
4