EasyManua.ls Logo

TEDA XQ140 - Page 56

TEDA XQ140
57 pages
Print Icon
To Next Page IconTo Next Page
To Next Page IconTo Next Page
To Previous Page IconTo Previous Page
To Previous Page IconTo Previous Page
Loading...
MODEL XQ140/20 HYDRAULIC POWER TONG OPERATION MANUAL
YANCHENG TEDA DRILLING & PRODUCTION EQUIPMENT CO.,LTD
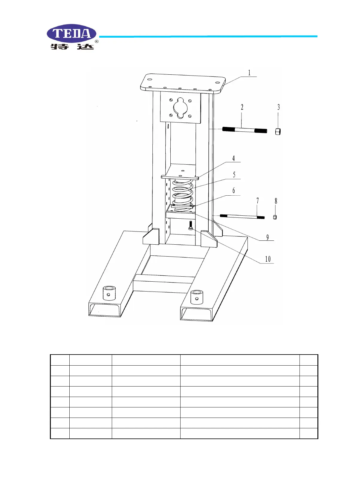
10.17Rear guide pole assembly and parts list (Fig.10.17,Table 10.17)
Table 10.17 Rear guide pole assembly parts list
Item
P/N
Part number
Description
Qty
1
XQ20(1)-120
XQ20.4.1
Rear guide pole outer barrel
1
2
XQ20(1)-121
XQ20.4-2
Rear guide pole spring
1
3
XQ20(1)-122
GB/T91
Cotter pin3.2
×
20
1
4
XQ20(1)-123
XQ20.4-3
Pin shaft
1
5
XQ20(1)-124
XQ20.4.2
Rear guide pole
1
6
XQ20(1)-125
XQ20.4-1
Rear guide pole seat
1
7
XQ20(1)-126
GB/T71
Slotted cone pointed set screwM6×10
1
Fig.10.17

Related product manuals