EasyManua.ls Logo

Teka DHA-718 - Control Panel; Oven Functions

Teka DHA-718
Print Icon
To Next Page IconTo Next Page
To Next Page IconTo Next Page
To Previous Page IconTo Previous Page
To Previous Page IconTo Previous Page
Loading...
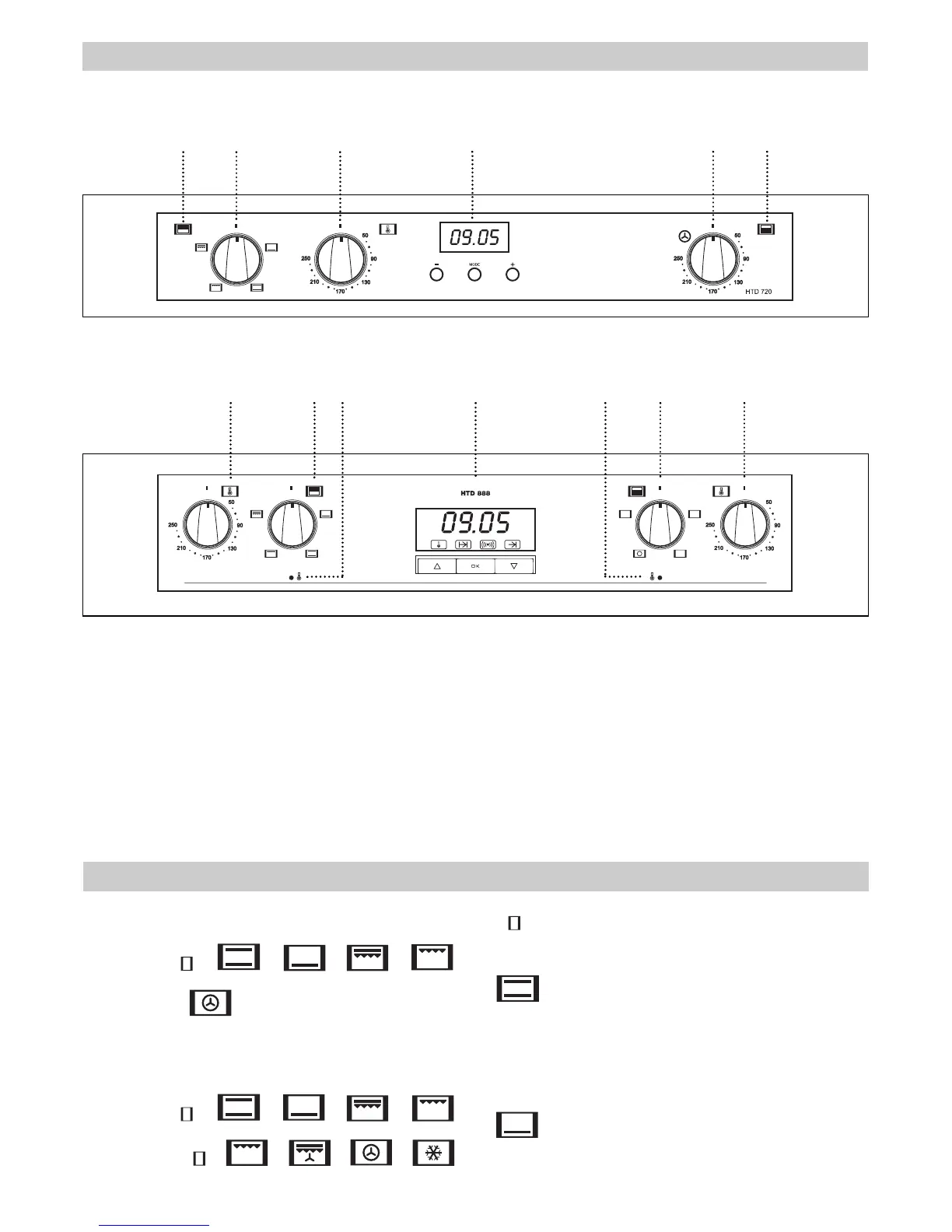
Top cavity
1 Temperature selector.
2 Function selector.
3 Heating indicator light. Indicates that the
heat is going to the food and it goes out
when the set temperature is reached.
Main cavity
4 Electronic clock.
5 Function selector.
6 Temperature selector.
7 Heating indicator light.
8 Fan oven + temperature selector.
Model DHA-718
Model DHA-888
Control Panel
Oven Functions
3 2 1 4 8 7
1 2 3 4 57 6
Model DHA-718
Top cavity: / / / /
Main cavity:
Model DHA-888
Top cavity: / / / /
Main cavity:
////
Switch off oven
Conventional
It is used for sponges and cakes where the
heat received must be uniform to achieve a
spongy texture.
Lower Element
Heats only from beneath. Suitable for heating
dishes and raising pastry and similar.
14

Related product manuals