EasyManua.ls Logo

Tektronix AFG3252 - Equivalent Output Circuits

Tektronix AFG3252
113 pages
Print Icon
To Next Page IconTo Next Page
To Next Page IconTo Next Page
To Previous Page IconTo Previous Page
To Previous Page IconTo Previous Page
Loading...
Getting started
Quick Tip
Refer to the AFG
3000 Series Arbitrary Function Generators Programmer
Manual for information on remote control commands.
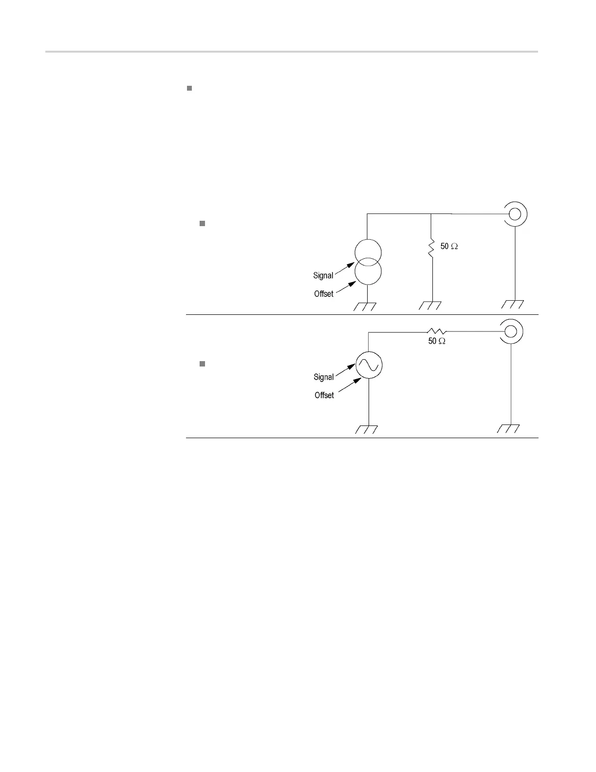
Equivalent Output Circuits
The following illustrations show the equivalent output circuits for the
AFG3000 s eries instruments:
1. AFG3011 / 30
11C
Output sig
nals do
not exceed ±20 V
when the >50 load
impedance
is used.
2. AFG3021B / 3021C /
AFG3022
B / 3022C /
3051C / 3052C
Amplitude and offset of
the output signals are
not aff
ected by load
impedance.
22 AFG3000 and AFG3000C Series User Manual

Table of Contents

Other manuals for Tektronix AFG3252

Related product manuals