EasyManua.ls Logo

tell CL600 - Rim Exit Device Template and Drilling

tell CL600
2 pages
Print Icon
To Previous Page IconTo Previous Page
To Previous Page IconTo Previous Page
Loading...
1-800-433-4047 | CL102258-04092020Tell Manufacturing | A Division of Spectrum Brands Inc. 2
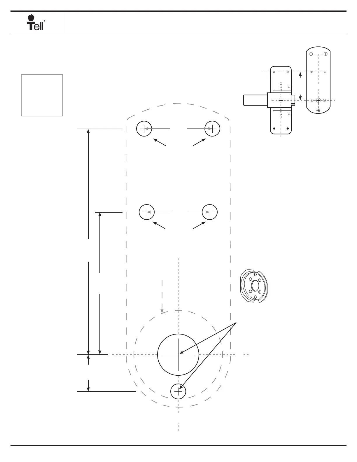
TEMPLATE FOR RIM EXIT DEVICE
CL600 PK PANIC KIT
CL600 Mechanical Lock Trim
1. Align template center-line (CL) with the CL of the Exit Device (as illustrated). Tape
template to the door, mark the holes and drill where needed.
Drill 3/8” (10mm)
holes for
thru bolts
attached to lock trim
Drill 3/8” (10mm)
holes for
panic thru bolts
attached to Plate
1-5/8”
(42mm)
1-3/8”
(35mm)
1”
3/8”
C
L
7/8”
(22mm)
5-3/8”
(137mm)
3-3/8”
(86mm)
3-3/8”
(86mm)
If there is no 2-1/8” Door Prep,
drill the following 1” dia. and
3/8” dia. holes.
Use metal flange to cover
2-1/8” door prep, to
attach bottom of lock trim.
Print PDF at 100%
Actual Size
Template
Actual Size
1” Square
2-1/8”
Door Prep
C
L
C
L
C
L
C
L

Other manuals for tell CL600