EasyManua.ls Logo

Temple Touch Premium - Taking Temperature

Temple Touch Premium
20 pages
Print Icon
To Next Page IconTo Next Page
To Next Page IconTo Next Page
To Previous Page IconTo Previous Page
To Previous Page IconTo Previous Page
Loading...
3
sores or abrasions and patients in trauma.
3. Temperature readings are affected by many factors including exercise and drinking
hot or cold beverages prior to taking a reading.
4. Consult your physician when using drug therapies that may raise the local skin
temperature in the forehead; this may lead to incorrect reading.
5. Do not place the thermometer on skin exposed to direct sunlight, fireplace heat, air
conditioner flow and cold/warm compress therapies.
6. Wait at least two minute between consecutive measurements for the unit to readjust
to room temperature.
7. If the thermometer has been stored in a cold temperature, allow the unit to warm
naturally to room temperature before using.
8. Performance of the device may be degraded if operated or stored outside stated
temperature and humidity ranges.
3. Directions for Use:
Use this thermometer on a clean and dry skin surface.
Wipe away any perspiration prior to use.
Taking Temperature:
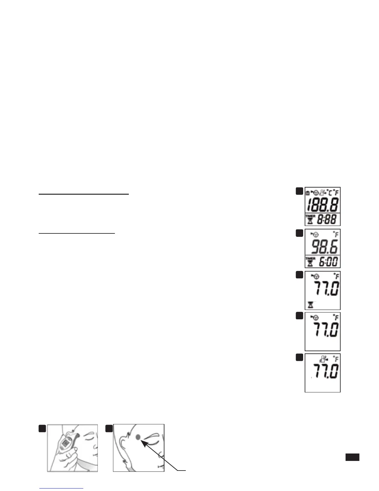
1. Press and release the Power button, you will hear one short beep.
All segments will be displayed (Figure 1) and the backlight will turn
on automatically.
2. The previous result will be displayed for 2 seconds (Figure 2).
3. The room temperature and the hourglass will be displayed
. (Figure 3).
4. Wait for the hourglass icon to disappear, then two beeps will be heard
to indicate that the thermometer is now ready to measure.
Do not take a measurement before the two beeps are heard.
5. Verify that you are in the correct mode: temple or underarm
(figures 4, 5), if you wish to change. Press and release the SET button.
6. For forehead measurement: Move hair aside from the temporal area
and apply the probe to bare skin, in the center of the temple area,
between the end of the eyebrow and the hairline (Figures 6a + 6b). Gently press
and hold to ensure good contact with the skin is maintained.
6a
inner pages
6b
Temple area
3
4
5
1
2