EasyManua.ls Logo

Tempstar F96CTN - Page 65

Default Icon
76 pages
Print Icon
To Next Page IconTo Next Page
To Next Page IconTo Next Page
To Previous Page IconTo Previous Page
To Previous Page IconTo Previous Page
Loading...
F96CTN and G96CTN (Series A): Installation, Start-up, Operating, Service and Maintenance Instructions
Manufacturer reserves the right to change, at any time, specifications and designs without notice and without obligations.
65
A11405
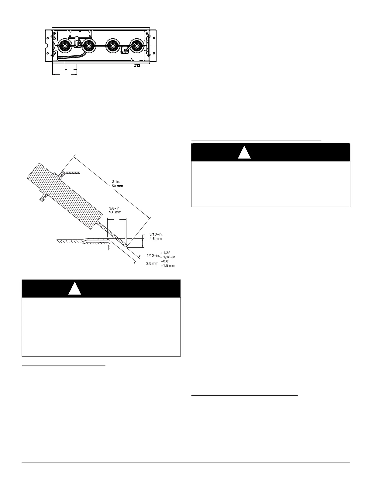
Fig. 69 – Igniter Position - Top View
14. Check for gas leaks with a commercially available soap solution
made specifically for the detection of leaks.
15. Turn gas on at electric switch on gas valve and at external shut-off
or meter
16. Turn power on at external disconnect, fuse or circuit breaker.
17. Run the furnace through two complete heating cycles to check for
proper operation
18. Install control door when complete.
L12F041
Fig. 70 – Igniter Position - Side View
Servicing Hot Surface Igniter
The igniter does NOT require annual inspection. Check igniter
resistance before removal. Refer to Fig. 69, Fig. 70 and Fig. 68.
1. Turn off gas and electrical supplies to furnace.
2. Remove control door.
3. Disconnect igniter wire connection.
4. Check igniter resistance. Igniter resistance is affected by
temperature. Only check resistance when the igniter is at room
temperature.
a. Using an ohm meter, check resistance across both igniter leads in
connector.
b. Cold reading should be between 40 ohms and 70 ohms.
5. Remove igniter assembly.
a. Using a 1/4-in. driver, remove the two screws securing the igniter
mounting bracket to the burner assembly. See Fig. 68.
b. Carefully withdraw the igniter and bracket assembly through the
front of the burner assembly without striking the igniter on
surrounding parts.
c. Inspect igniter for signs of damage or failure.
d. If replacement is required, remove the screw that secures the
igniter on igniter bracket and remove the igniter.
6. To replace igniter and bracket assembly, reverse items 5a through
5d.
7. Reconnect igniter harness to the igniter, dressing the igniter wires to
ensure there is no tension on the igniter itself. See Fig. 68.
8. Turn on gas and electrical supplies to furnace.
9. Verify igniter operation by initiating control board self-test feature
or by cycling thermostat.
10. Replace control door.
Flushing Collector Box and Drainage System
1. Turn off gas and electrical supplies to furnace.
2. Remove control door.
3. Disconnect pressure switch tube from pressure switch port.
NOTE: Ensure the pressure switch tube disconnected from the pressure
switch is higher than the collector box opening or water will flow out of
tube.
4. Remove the collector box plug from the top port on the upper
corner of the collector box. See Fig. 61.
5. Attach a funnel with a flexible tube to port on the collector box.
6. Flush inside of collector box with water until discharge water from
condensate trap is clean and runs freely.
7. Repeat steps 4 through 6 with middle plug on upper corner of
collector box.
8. Remove the pressure switch tube from the collector box.
NOTE: Do NOT blow into tube with tube connected to the pressure
switch.
9. Clean pressure switch port on collect box with a small wire. Shake
any water out of pressure switch tube.
10. Reconnect tube to pressure switch and pressure switch port.
11. Remove the relief tube from the port on the collector box and the
trap.
12. Clean the relief port on collect box and the trap with a small wire.
Shake any water out of the tube.
13. Reconnect relief tube to trap and collector box ports.
Cleaning Condensate Drain and Trap
NOTE: If the condensate trap is removed, a new gasket between the trap
and collector box is required. Verify a condensate trap gasket is included
in the service kit or obtain one from your local distributor.
1. Disconnect power at external disconnect, fuse or circuit breaker.
2. Turn off gas at external shut-off or gas meter.
3. Remove control door and set aside.
4. Turn electric switch on gas valve to OFF.
WARNING
!
FIRE OR EXPLOSION HAZARD
Failure to follow this warning could result in personal injury, death,
and/or property damage.
Never purge a gas line into a combustion chamber. Never test for gas
leaks with an open flame. Use a commercially available soap solution
made specifically for the detection of leaks to check all connections. A
fire or explosion may result causing property damage, personal injury
or loss of life.
2-1/2-in.
(64.4)
1-1/4-in.
(31.8)
WARNING
!
ELECTRICAL SHOCK AND FIRE HAZARD
Failure to follow this warning could result in personal injury, death,
and/or property damage.
Turn off the gas and electrical supplies to the furnace and install lockout
tag before performing any maintenance or service. Follow the operating
instructions on the label attached to the furnace.

Related product manuals