EasyManua.ls Logo

tepro TORONTO COMPACT - Page 30

tepro TORONTO COMPACT
Print Icon
To Next Page IconTo Next Page
To Next Page IconTo Next Page
To Previous Page IconTo Previous Page
To Previous Page IconTo Previous Page
Loading...
30
t
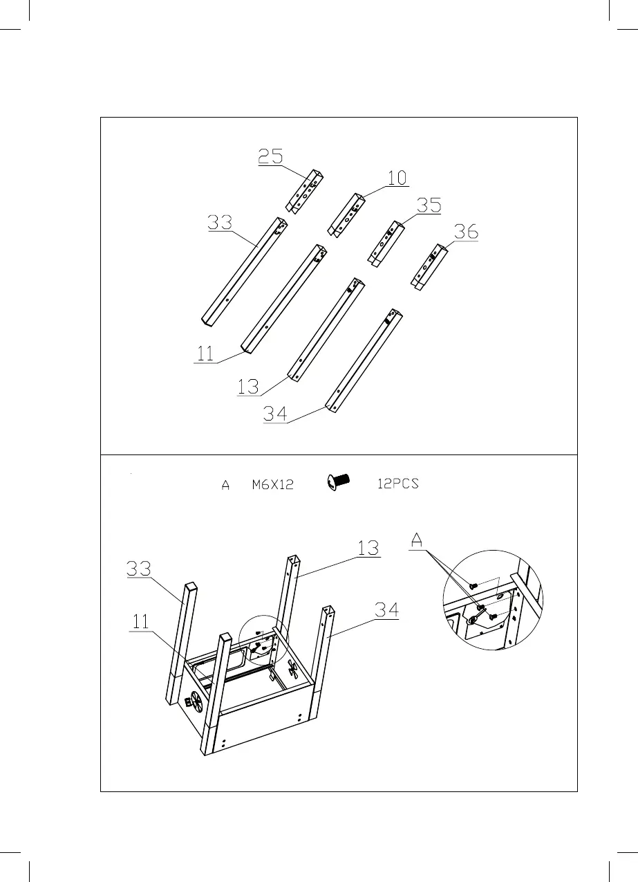
Step 3
Step 4
P180174-TEPRO_1162_Toronto_Kompakt_DE_GB_20180904.indd 30 4/9/2018 5:10 PM

Related product manuals