EasyManua.ls Logo

Terex 3360B - Page 23

Terex 3360B
41 pages
Print Icon
To Next Page IconTo Next Page
To Next Page IconTo Next Page
To Previous Page IconTo Previous Page
To Previous Page IconTo Previous Page
Loading...
Section 100-0010
1
SM 1171 2-98
CHASSIS - Chassis, Hood and Fenders (3360B)
REMOVAL
WARNING
To prevent personal injury and property
damage, be sure wheel chocks, blocking
materials and lifting equipment are properly
secured and of adequate capacity to do the job
safely.
To remove any of the components shown in
Figs. 1, 2, 3, 4 or 5 (or similar components) the
following procedures should be carried out.
1. Position the vehicle in a level work area, apply the
parking brake and switch off the engine.
2. Turn steering wheel in both directions several
times to relieve pressure in the steering circuit. Block
all road wheels.
3. Attach a suitable lifting device to the component
and remove mounting hardware. Remove the
component from the vehicle.
INSTALLATION
Note: Tighten all fasteners to standard torques listed
in Section 300-0080, STANDARD BOLT AND NUT
TORQUE SPECIFICATIONS.
WARNING
To prevent personal injury and property
damage, be sure wheel chocks, blocking
materials and lifting equipment are properly
secured and of adequate capacity to do the job
safely.
Using a suitable lifting device, align the component to
be installed in position on the chassis. Secure the
component securely to the chassis with mounting
hardware removed during removal.
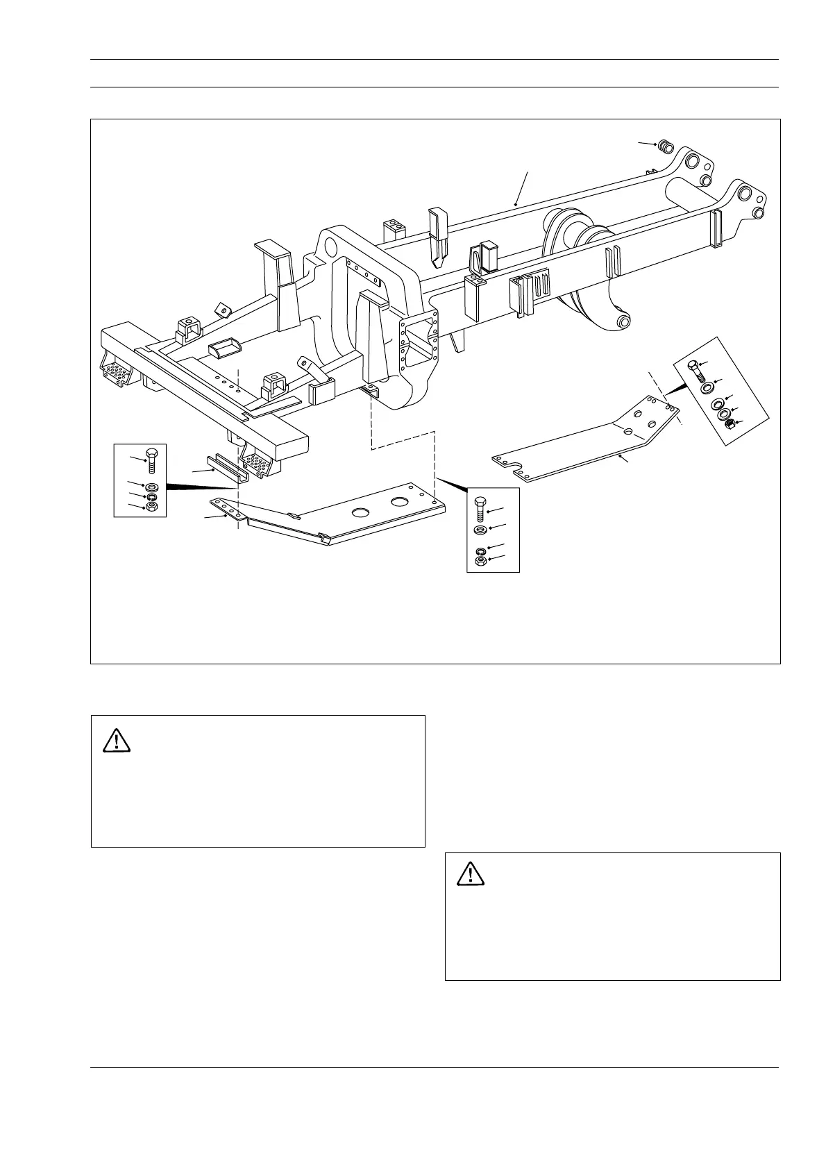
Fig. 1 - Exploded View of Chassis and Guards
1 - Frame Assembly
2 - Bushing
3 - Engine Guard
4 - Channel
5 - Bolt
6 - Nut
7 - Lockwasher
8 - Washer
9 - Bolt
10 - Transmission Guard
11 - Bolt
SM - 1785
12 - Hardened Washer
13 - Locknut
14 - Spring Disc
15 - Washer
9
8
7
6
4
3
5
8
7
6
10
11
15
14
12
13
1
2
Find manuals at http://best-manuals.com/search?&s=TEREX-SM1421

Related product manuals