EasyManua.ls Logo

Tescom DXA3000 Series - Page 8

Default Icon
61 pages
Print Icon
To Next Page IconTo Next Page
To Next Page IconTo Next Page
To Previous Page IconTo Previous Page
To Previous Page IconTo Previous Page
Loading...
6
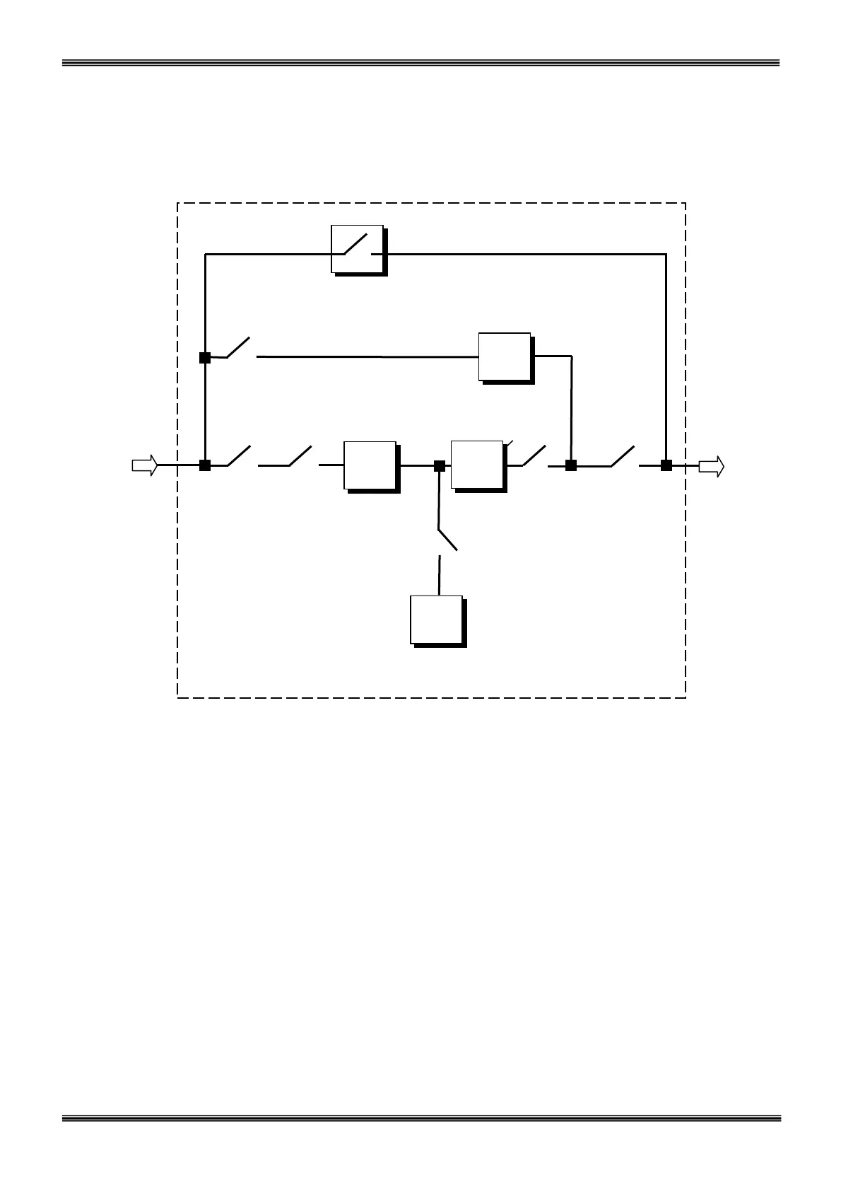
1.2 Design Concept
S1 / (F1-F2-F3) : Rectifier Input Switch / Fuses
S2 / (F4-F5-F6) : Bypass Input Switch / Fuses
S3 : Maintenance Bypass Switch
S4 : Output Switch
K1 : Rectifier Input Contactor
K2 : Inverter Output Contactor
(F7-F8-F9) : Inverter Output Fuses
(F10-F12) : Battery Fuses
-
-
SB
Rectifier /
Charger
3 PHASE
MAINS I/P
Battery
(Dual Polarity)
Maintenance
Bypass Switch
Static
Bypass
S2
(F4-F5-F6)
S1
(F1
-
F2
-
F3)
(F10
-
S3
S4
Inverter
K2
(F7-F8-F9)
3 PHASE
AC Output
K1

Related product manuals