EasyManua.ls Logo

Texas Instruments 99/4A - Page 22

Texas Instruments 99/4A
146 pages
Print Icon
To Next Page IconTo Next Page
To Next Page IconTo Next Page
To Previous Page IconTo Previous Page
To Previous Page IconTo Previous Page
Loading...
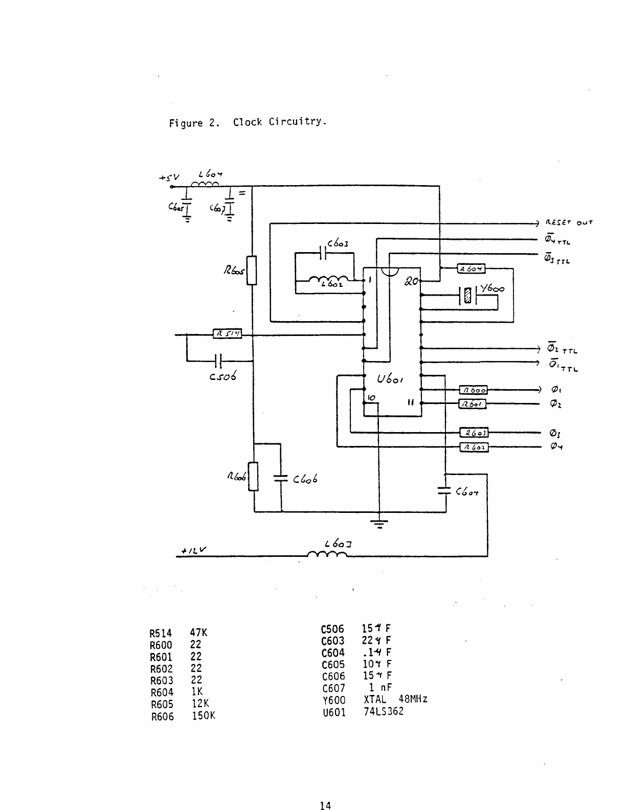
Figure
2.
Clock
Circuitry.
R514
47K
C506
15"?
F
R600
22
C603
225
F
R601
22
C604
.1-5
F
R602
22
C605
105
F
R603
22
C606
155
F
R604
IK
C607
1
nF
R605
12K
Y600
XTAL
48MHz
R606
150K
U601
74LS362
14

Related product manuals