EasyManua.ls Logo

Texas Instruments 99/4A - Page 44

Texas Instruments 99/4A
146 pages
Print Icon
To Next Page IconTo Next Page
To Next Page IconTo Next Page
To Previous Page IconTo Previous Page
To Previous Page IconTo Previous Page
Loading...
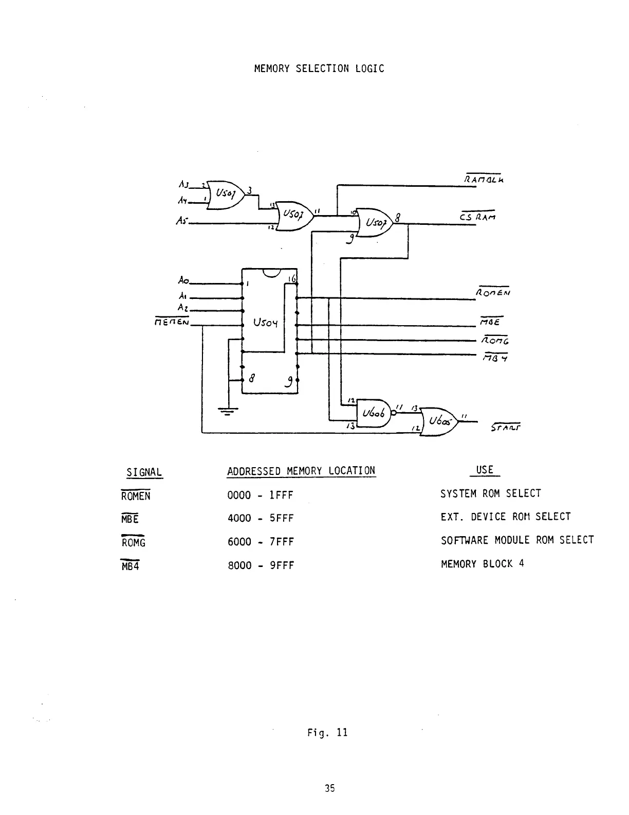
MEMORY
SELECTION
LOGIC
SIGNAL
ROMEN
MBE
ROMG
MB4
ADDRESSED
MEMORY
LOCATION
OOOO
-
1FFF
4000
-
5FFF
6000
-
7FFF
8000
-
9FFF
USE
SYSTEM
ROM
SELECT
EXT.
DEVICE
ROM
SELECT
SOFTWARE
MODULE
ROM
SELECT
MEMORY
BLOCK
4
Fig.
11
35

Related product manuals