EasyManua.ls Logo

Texas Instruments 99/4A - Page 51

Texas Instruments 99/4A
146 pages
Print Icon
To Next Page IconTo Next Page
To Next Page IconTo Next Page
To Previous Page IconTo Previous Page
To Previous Page IconTo Previous Page
Loading...
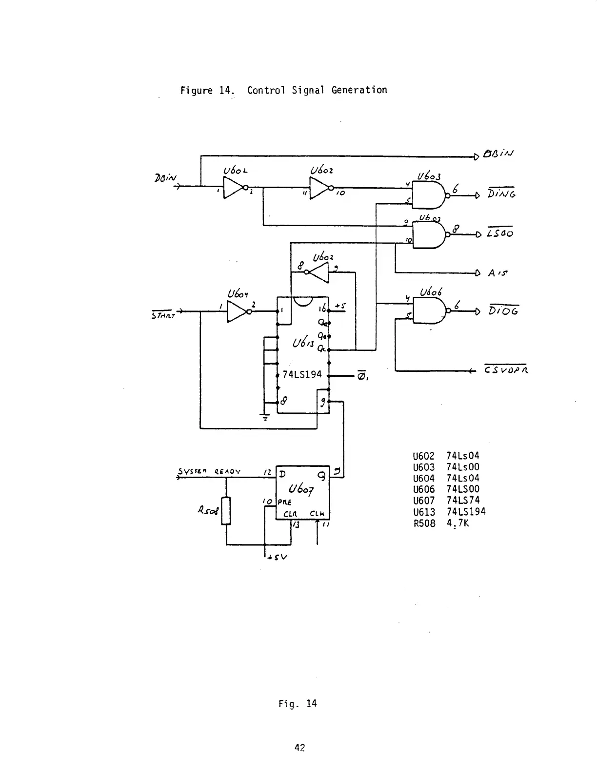
Figure
14.
Control
Signal
Generation
Fig.
14
42

Related product manuals