EasyManua.ls Logo

Texas Instruments 99/4A - Page 52

Texas Instruments 99/4A
146 pages
Print Icon
To Next Page IconTo Next Page
To Next Page IconTo Next Page
To Previous Page IconTo Previous Page
To Previous Page IconTo Previous Page
Loading...
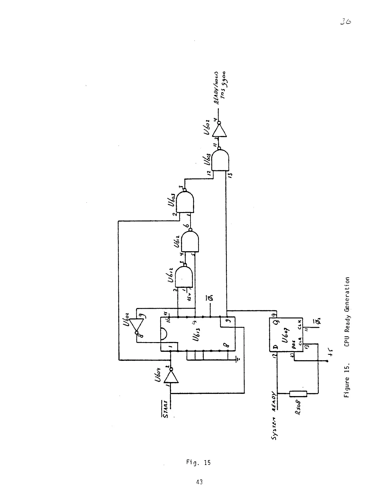
F ig u re
15.
CPU
Ready
G e n e ra tio n
Fig.
15
43

Related product manuals