EasyManua.ls Logo

Texas Instruments AM1808 - Page 108

Texas Instruments AM1808
265 pages
Print Icon
To Next Page IconTo Next Page
To Next Page IconTo Next Page
To Previous Page IconTo Previous Page
To Previous Page IconTo Previous Page
Loading...
EMA_A[22:0]
EMA_CS[5:2]
EMA_BA[1:0]
EMA_D[15:0]
EMA_A_RW
EMA_WE
EMA_WAIT
AM1808
SPRS653E FEBRUARY 2010REVISED MARCH 2014
www.ti.com
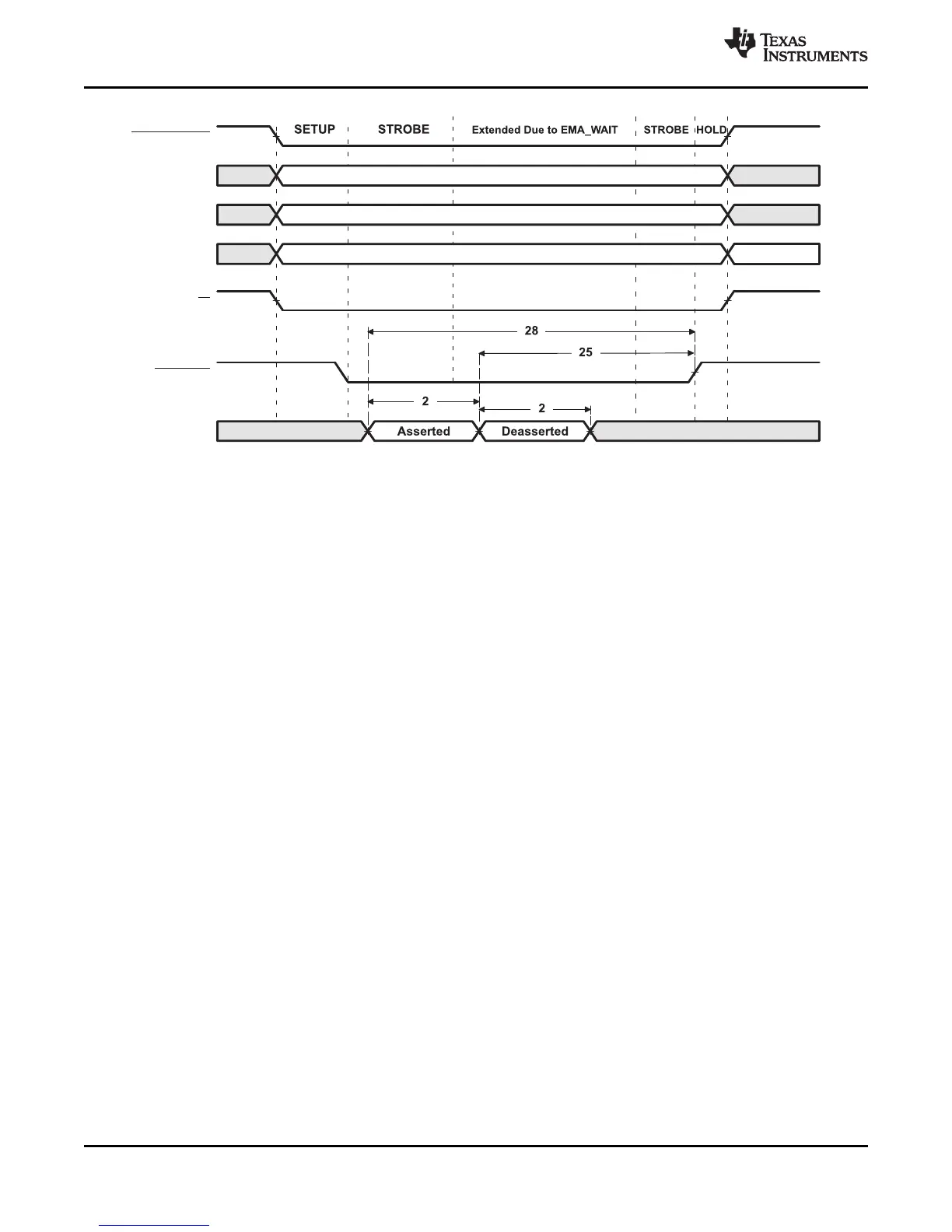
Figure 6-15. EMA_WAIT Write Timing Requirements
108 Peripheral Information and Electrical Specifications Copyright © 2010–2014, Texas Instruments Incorporated
Submit Documentation Feedback
Product Folder Links: AM1808

Table of Contents

Related product manuals