EasyManua.ls Logo

TFC 099A - Connecting System Wires; Wiring Diagram

TFC 099A
21 pages
Print Icon
To Next Page IconTo Next Page
To Next Page IconTo Next Page
To Previous Page IconTo Previous Page
To Previous Page IconTo Previous Page
Loading...
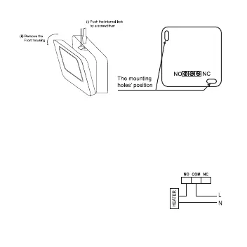
2.6 Connecting the Wires
1.Connect the system wires to the terminals according
to the wiring diagram shown in the section 2.7
“WIRING DIAGRAM”.
2.7 Wiring Diagram
The DRT2 thermostat can be used with
single stage heating system. Inside the
thermostat, three terminals which label
COM, NC and NO would be found. Con-
nect the heater to the terminal COM and NO (or NC de-
8