EasyManua.ls Logo

THOMSON THVC93120R - Page 9

THOMSON THVC93120R
Print Icon
To Next Page IconTo Next Page
To Next Page IconTo Next Page
To Previous Page IconTo Previous Page
To Previous Page IconTo Previous Page
Loading...
FR-9
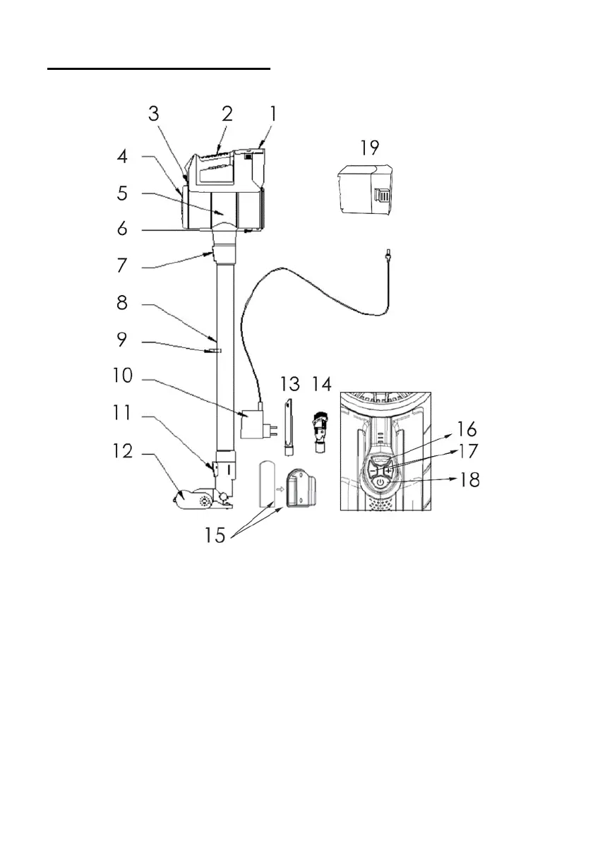
DESCRIPTION DE L’APPAREIL
1.
Bloc-batterie détachable
2.
Poignée ergonomique
3.
Voyants
4.
Couvercle du filtre de sortie
5.
Réservoir à poussière
6.
Bouton de déverrouillage du réservoir à
poussière
7.
Bouton de déverrouillage du tubemétallique
8.
Tube métallique
9.
Support pour accessoires
10.
Adaptateur
11.
Bouton de déverrouillage de la brosse de sol
motorisée
12.
Brosse motorisée
13.
Suceur plat
14.
Brosse 2 en 1
15.
Support mural avec autocollant
amovible
16.
Interrupteur de la brosse de sol
(marche/arrêt)
17.
glage du niveau de
puissance
18.
Interrupteur Marche/Arrêt
19.
Batterie

Related product manuals