EasyManua.ls Logo

Thrustmaster T-GT - Page 411

Thrustmaster T-GT
Print Icon
To Next Page IconTo Next Page
To Next Page IconTo Next Page
To Previous Page IconTo Previous Page
To Previous Page IconTo Previous Page
Loading...
2/22
技术特性
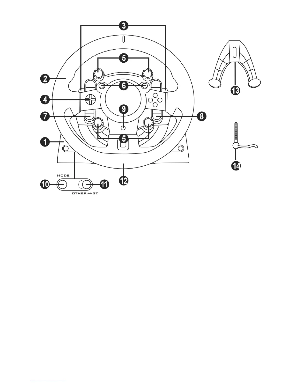
1 T-GT
底座
2 T-GT 方向盘
3 2 个序列式换档拨片(向上和向下)
4 方向键
5 4 个带按钮的旋钮式选择
(在
GT
式下兼容
PS4™
,兼容
PC
6 2 个迷你操纵杆
(在
GT
模式下兼容
PS4™
,兼容
PC
7 SHARE 按钮
8 OPTIONS
按钮
9 PS 按钮
10 MODE 按钮 + 红色/绿色指示
11 内置 USB 滑动开关:OTHER/ GT
12 大螺纹孔(用于安装固定系统和紧
固螺丝)
13 固定系统
14 金属紧固螺丝

Table of Contents

Other manuals for Thrustmaster T-GT

Related product manuals