EasyManua.ls Logo

Thrustmaster T-GT - Page 433

Thrustmaster T-GT
Print Icon
To Next Page IconTo Next Page
To Next Page IconTo Next Page
To Previous Page IconTo Previous Page
To Previous Page IconTo Previous Page
Loading...
2/22
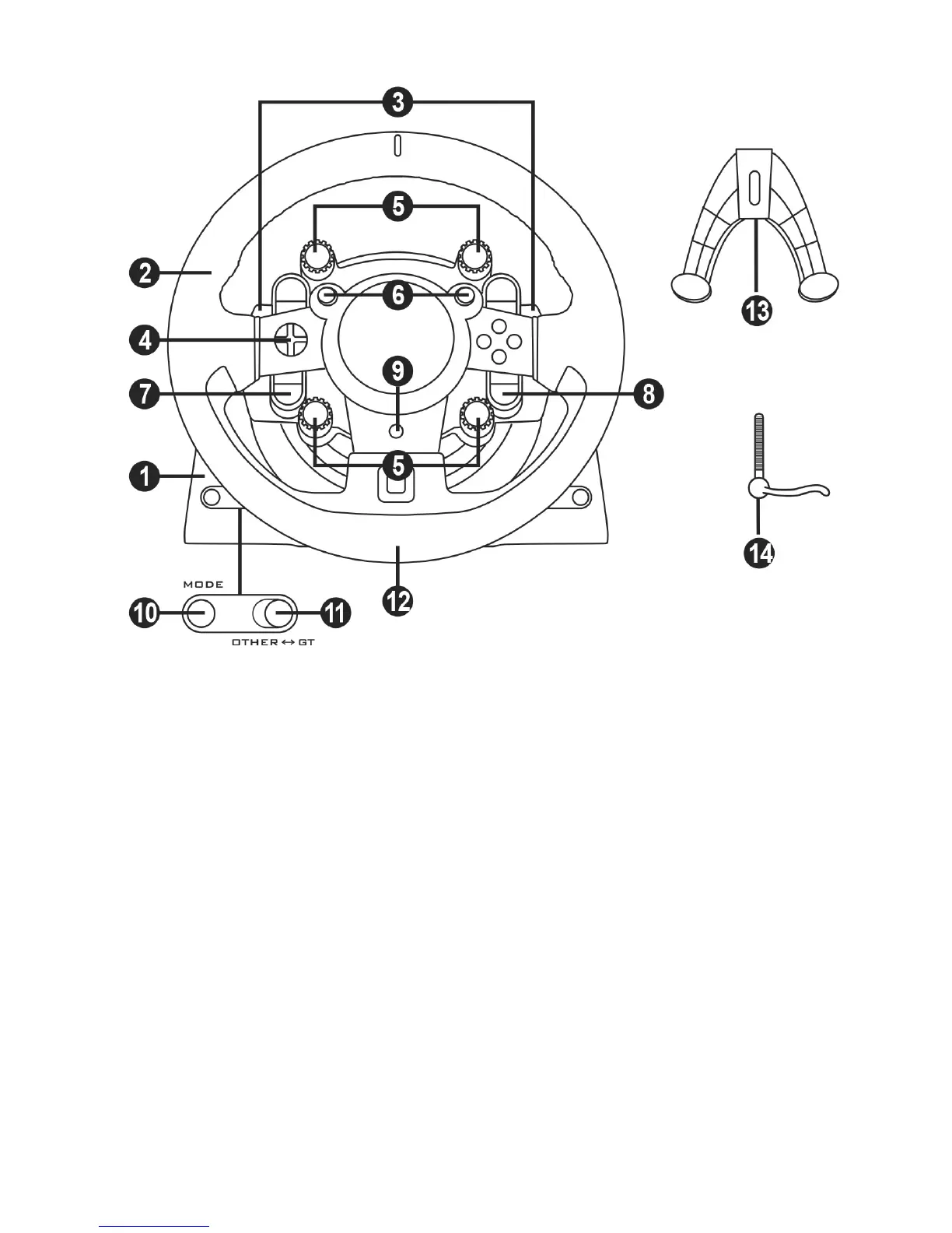
技術特點
1 T-GT 底座
2 T-GT 方向盤
3 2 個序列式換檔撥片(向上和向下)
4 方向鍵
5 4 個帶按鈕的旋鈕式選擇
(在
GT
式下相容於
PS4™
,相容於
PC
6 2 個迷你操縱杆
(在
GT
模式下相容
PS4™
,相容於
PC
7 SHARE 按鈕
8 OPTIONS 按鈕
9 PS 按鈕
10 MODE 按鈕 + 紅色/綠色指示
11 內建 USB 滑動開關:OTHER/ GT
12 大螺紋孔(用於安裝固定系統和緊
固螺絲)
13 固定系統
14 金屬緊固螺絲

Table of Contents

Other manuals for Thrustmaster T-GT

Related product manuals