EasyManua.ls Logo

TMC 30E - Page 99

Default Icon
182 pages
Print Icon
To Next Page IconTo Next Page
To Next Page IconTo Next Page
To Previous Page IconTo Previous Page
To Previous Page IconTo Previous Page
Loading...
Injection Molding Machine Chapter 4
V3.0
4-56
) Press manual injection key to perform injection operation.
) Press manual charge key (One Touch)
starts charging to setting position.
) Press manual suck back key to perform suck back operation.
) Press manual carriage retract key to perform carriage retract operation.
) Press manual clamp open key until clamp open is completed.
) Press manual ejector advance key to perform ejector advance operation.
) Press manual ejector retract key to perform ejector retract operation.
4.2 Semi automatic operation
After
completion of manual operation
open front operator gate
do the following semi-auto operation
procedures:
) On clamp close screen
set
INTERVAL T.
properly.
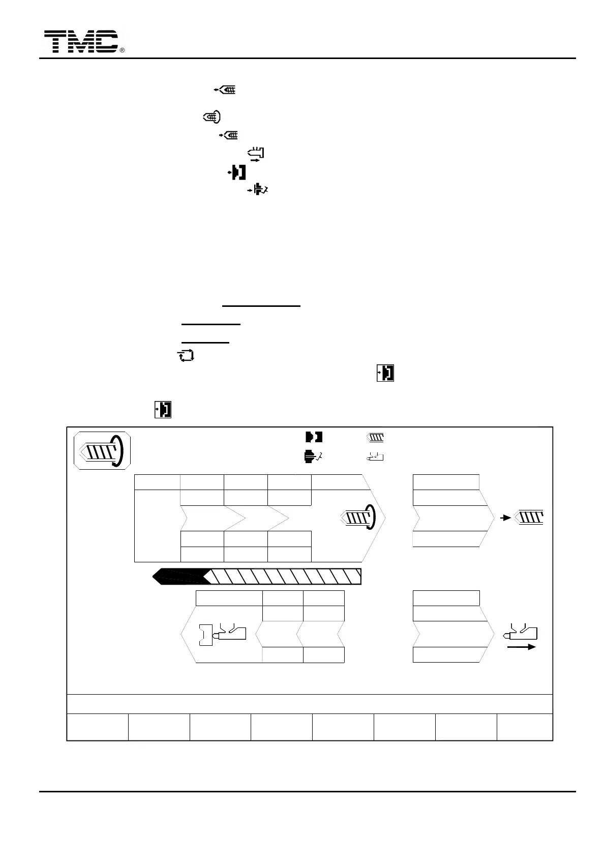
) On charge screen set
CHA. END
position to 0. (Refer to following figure)
) On charge screen set
SUCK B.
position properly. (Refer to following figure)
) Press semi-auto key .
) Close front operator gate
press and manual clamp close key (One Touch).
) Upon end of cycle
open front operator gate
then close it again
and press and release manual
clamp close key again(One Touch)
machine will perform next cycle.
PTmm
Pbar
V%
V1: 0/ 0 0/ 0V2:
0/ 0P1: 0/ 0 P2:100.0mm
50.0mm
110.0mm
1.0mm
ACTION STATUS
M:
03D05M07Y
10h2510s
20°C3W
SUCK BACK
COOLING T.
ON
< 20.0> 0.0
CHARGE MONITOR T.
CHARGE DELAY T.
PROFILE
F2F1 F3 F4 F5 F6 F7 F8
MENU
05
21
BPbar
CH. END
0.0
SUCK B.
F.W. END
B.W. END
< 15.0> 0.0
< 0.2> 0.0
INJ END
123
10.0 0.0 0.0
100100100
000
V%
Pbar
PTmm
50 50 50
+100.0
50
40
150.0
80
707070
30.010.0
8010
B.P.
PURGE
AUTO CHANGE
LOG
MOLD
SUPPORT FUNCTION
PROD.
MANAG.
WGT. g
60.0
CARRIAGE
B.P ACT 0
RPM 0
SUCK
BACK
CHARGE
PARAMETER
Screen 4-39