EasyManua.ls Logo

TnB SPCAMHD2 - LCD Status Screen

TnB SPCAMHD2
Print Icon
To Next Page IconTo Next Page
To Next Page IconTo Next Page
To Previous Page IconTo Previous Page
To Previous Page IconTo Previous Page
Loading...
26
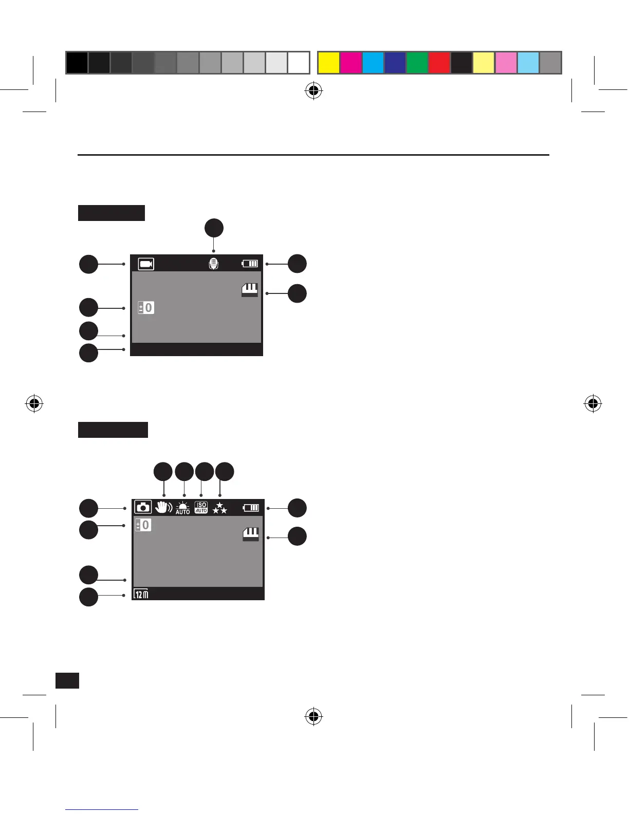
LCD status screen of the camera
The LCD displays the following information regarding the modes and settings:
1080P
00:00:00
000000
1- Camera mode
2- Exposure
3- Remaining recording capacity
4- Resolution in thousands of pixels
5- Microphone
6- Battery status
7- Micro SD Card OK
1- Photo Mode
2- Exposure
3- Remaining capacity of shot
4- Resolution in thousands of pixels
5- Stabilizer
6- White balance
7- ISO standard
8- Quality
9- Battery status
10- Micro SD Card OK
VIDEO MODE
PHOTO MODE
1
1
5
5 6 7 8
6
9
10
7
2
2
3
3
4
4
_Notice_SPCAMHD2.indd 26
06/05/2015 12:18