EasyManua.ls Logo

Toast Go 2 - Toast Go 2 Device Overview; Front View; Right Side View

Toast Go 2
12 pages
Print Icon
To Next Page IconTo Next Page
To Next Page IconTo Next Page
To Previous Page IconTo Previous Page
To Previous Page IconTo Previous Page
Loading...
2
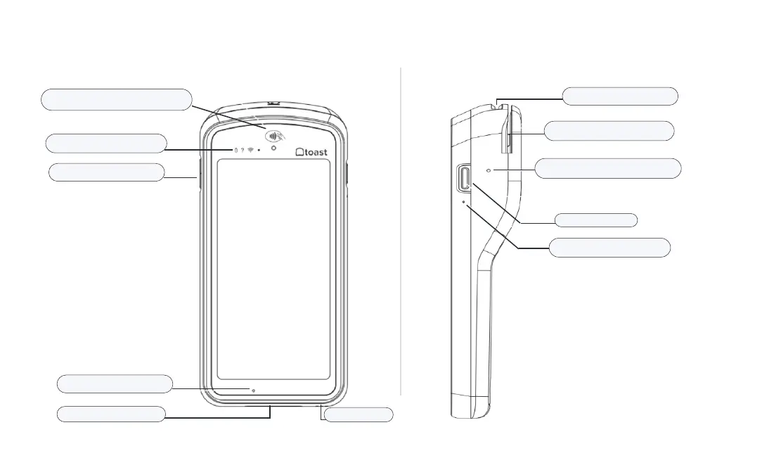
Status Indicator Lights
Contactless Payment Reader
Primary Microphone
Charging Port
Speaker
Volume Up / Down
Power
Card Reader Indicator Light
EMV Card Slot
Magnetic Strip Card Slot
Secondary Microphone
Front View Right Side View
Toast Go 2

Related product manuals