EasyManua.ls Logo

TOPTEK TOPVERT S1-211P5 - Parameter Setting and Operation; Setting Parameters Example (Pr0-07); Running the Drive Example (50 Hz)

Default Icon
52 pages
Print Icon
To Next Page IconTo Next Page
To Next Page IconTo Next Page
To Previous Page IconTo Previous Page
To Previous Page IconTo Previous Page
Loading...
TOPVERT S1 Series
E-
8
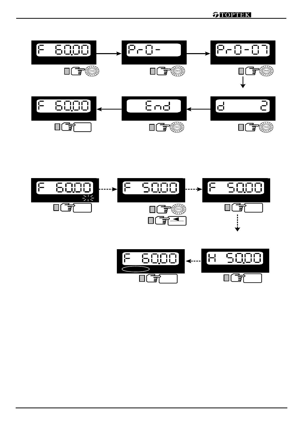
Setting parameters (For example, to set Pr0-07 = 2)
To run (For example, to run 50 Hz from PU)
RUN
To run setted 50.00Hz
Press
Set m aster frequency to
50.00Hz
(Use left key for quick
data entry)
PU
To enable PU
Press
FWD REV EXT PU
FWD REV EXT PU FWD REV EXT PU
Rotate
RESET
To shift data
DISP
To display actual
output frequency
to the m otor
Press
F/R
T o settin g d ire ctio n ,
FWD/REV
Press
FWD REV EXT PUFWD REV EXT PU
To setting param eter
Press
FWD REV EXT PU
Select P r 0-07 to be
modified
Press then
ro tate
FWD REV EXT PU
Modify data to 2
Press then
rotate
FWD REV EXT PU
Success to set parameter.
FWD REV EXT PU
Press
Power-up Display
FWD REV EXT PU
To setting param eter
FWD REV EXT PU
DISP
Press
tw ice
Press 0.5sec

Related product manuals