EasyManua.ls Logo

TorcUP EP1000 - Common Components (EP1000)

TorcUP EP1000
38 pages
Print Icon
To Next Page IconTo Next Page
To Next Page IconTo Next Page
To Previous Page IconTo Previous Page
To Previous Page IconTo Previous Page
Loading...
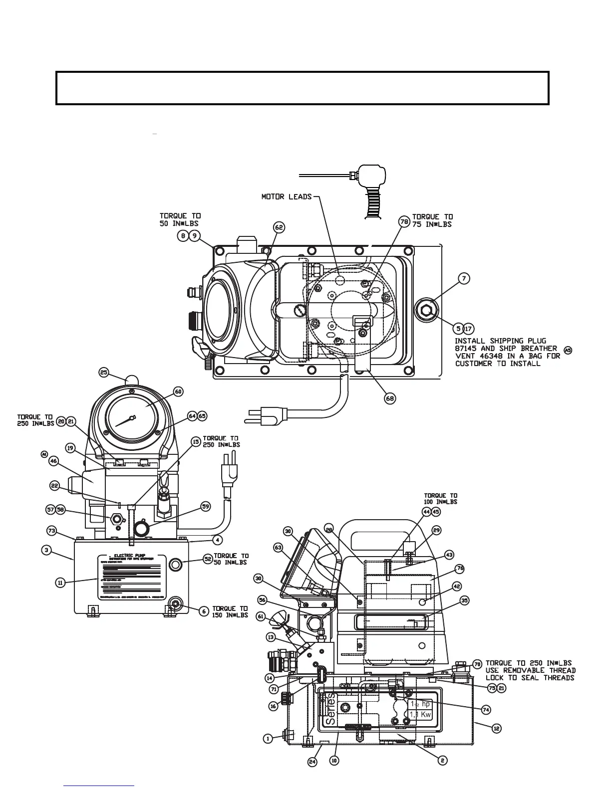
COMMON COMPONENTS
Common components
used in pumps
EP1000 Torque Wrench
Power Pump
NOTE: This illustration is for reference
only. The appearance of your unit
Note: This illustration is for reference only. The appearance of your unit may differ from unit shown.
EP1000
13/37

Other manuals for TorcUP EP1000

Related product manuals