EasyManua.ls Logo

Toro 70041 - Page 11

Toro 70041
36 pages
Print Icon
To Next Page IconTo Next Page
To Next Page IconTo Next Page
To Previous Page IconTo Previous Page
To Previous Page IconTo Previous Page
Loading...

  
 Slip steering wheel onto steering shaft, aligning
the steering wheel mount hole with shaft mounting
hole.
04' Steering wheel insert (Fig. 2) should be readĆ
able from operator's position on rider with wheels
turned straight ahead.
 Insert a drift punch partially through the holes to
maintain alignment and insert the roll pin in the opĆ
posite side.
 Drive the roll pin in until flush with the outside of
the steering wheel.
    "
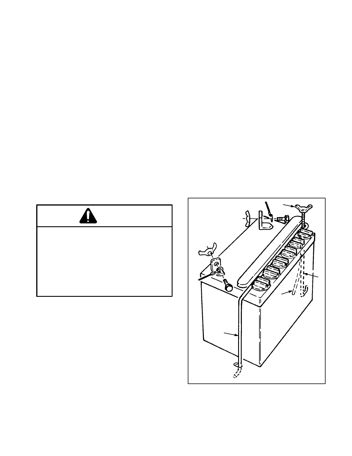
The battery must be removed from the rider so it can
be filled with electrolyte and charged. Bulk electroĆ
lyte with 1.260 specific gravity must be purchased
from a local battery supply outlet. Remove the batĆ
tery and activate it as follows:
!'#2 3#('49 )0))-'3 #/& 25$$'2 )-06'3
7*'/ 702,+/) 7+4* '-'%420-94' *#2)' 4*'
$#44'29 +/ # 7'-- 6'/4+-#4'& 1-#%' 30 )#3'3
120&5%'& 7*+-' %*#2)+/) %#/ &+33+1#4'
+/%' 4*' )#3'3 #2' '81-03+6' ,''1 01'/
(-#.' #/& '-'%42+%#- 31#2, #7#9 (20. 4*' $#4:
4'29 &0 /04 3.0,' #53'# .#9 2'35-4 +( 4*'
)#3'3 #2' +/*#-'& /1-5) %*#2)'2 (20.
'-'%42+%#- 054-'4 $'(02' %0//'%4+/) 40 02 &+3:
%0//'%4+/) %*#2)'2 -'#&3 (20. $#44'29 10343

 Remove wing nut securing battery hold downs to
rider chassis (Fig. 3).
 Remove battery from chassis and set it aside.
 Remove filler caps from battery and slowly fill
each cell until electrolyte is just above the plates. To
obtain best results, let battery sit for 20 minutes.
Then add electrolyte to the maximum capacity (fill
ring).
 Leave filler caps off and connect a 3Ć4 amp batĆ
tery charger to battery posts. Charge battery at a
rate of 4 amperes or less for 4 hours (12 volt).
 0 /04 06'2(+-- $#44'29 -'%420-94'
7+-- 06'2(-07 0/40 04*'2 1#243 #/& 3'6'2' %0220:
3+0/ #/& &'4'2+02#4+0/ 7+-- 2'35-4
 When battery is charged, disconnect charger
from electrical outlet and battery posts.
 Slowly add electrolyte to each cell until level is
up to fill ring. Reinstall filler caps.
04' Once battery is in service, distilled water only
should be added; never add more electrolyte.
 Reinstall the battery with terminal posts toward
the rear of the machine and vent tube thru hole in
frame (Fig. 3).
 Reinstall battery hold downs.
 Reinstall the positive cable to the positive (+)
terminal and the negative cable (black) to the negaĆ
tive (-) terminal of the battery and secure with capĆ
screws and wing nuts (Fig. 3).
+)52'
         
1589
1
1
3
2
Negative -
Positive +