EasyManua.ls Logo

Toro Flex-Force Power System 88602 - Product Specifications and Setup; Mounting the Battery Charger; Product Specifications

Toro Flex-Force Power System 88602
36 pages
Print Icon
To Next Page IconTo Next Page
To Next Page IconTo Next Page
To Previous Page IconTo Previous Page
To Previous Page IconTo Previous Page
Loading...
Setup
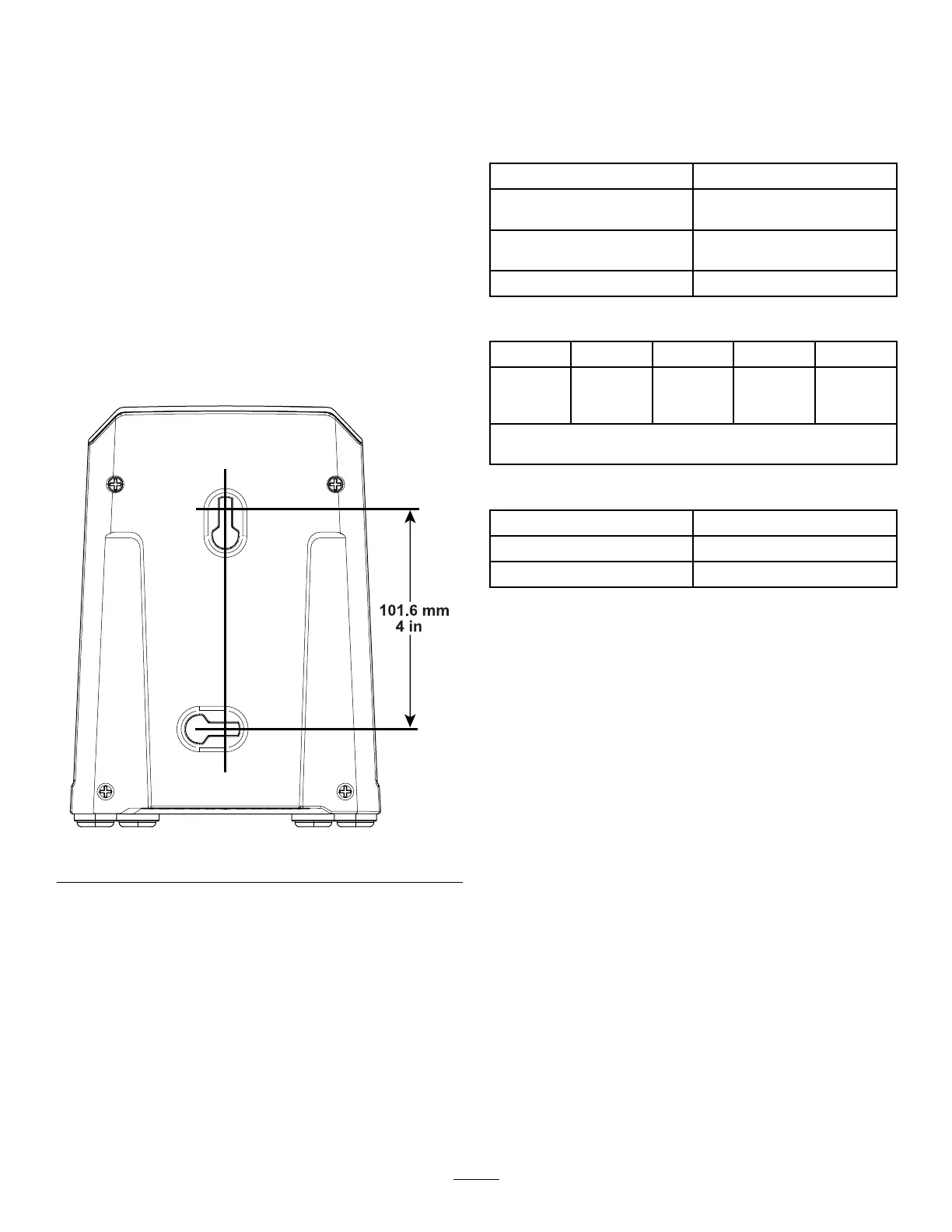
MountingtheBattery
Charger(Optional)
Ifdesired,mountthebatterychargersecurelyona
wallusingthewall-mountkeyholesonthebackof
thecharger.
Mountitindoors(suchasagarageorotherdryplace),
nearapoweroutlet,andoutofthereachofchildren.
RefertoFigure1forassistanceinmountingthe
charger.
Slidethechargerovertheappropriatelypositioned
hardwaretosecurethechargerinplace(hardware
notincluded).
g247359
Figure1
ProductOverview
Specications
BatteryCharger
Model88602
Type60VMAXLithium-IonBattery
Charger
Input
100to120VAC50/60HzMax
2.0A
Output60VMAXDC2.0A
BatteryPack
Model88625886408866088675
2.5Ah4.0Ah6.0Ah7.5Ah Battery
pack
capacity
135Wh216Wh324Wh405Wh
Batterymanufacturerrating=60Vmaximumand54Vnominal.
Actualvoltagevarieswithload.
AppropriateTemperatureRanges
Chargebatterypackat5°C(41°F)to40°C(104°F)*
Usebatterypackat
-30°C(-22°F)to49°C(120°F)
Storebatterypack/chargerat5°C(41°F)to40°C(104°F)*
*Chargingtimewillincreaseifyoudonotchargethe
batterywithinthisrange.
Storethetool,batterypack,andbatterychargerinan
enclosedclean,dryarea.
6