EasyManua.ls Logo

Trailer Valet 5X - Assembly

Trailer Valet 5X
17 pages
Print Icon
To Next Page IconTo Next Page
To Next Page IconTo Next Page
To Previous Page IconTo Previous Page
To Previous Page IconTo Previous Page
Loading...
9
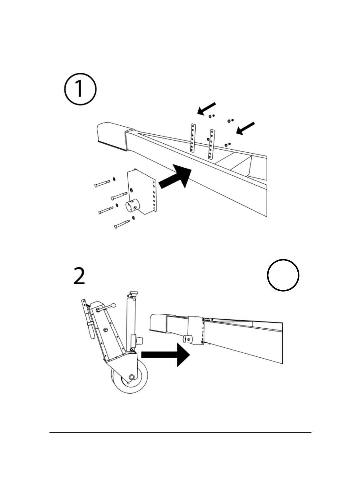
Assembly

Other manuals for Trailer Valet 5X