EasyManua.ls Logo

Trailer Valet RVR12 - Controller Operation

Trailer Valet RVR12
16 pages
Print Icon
To Next Page IconTo Next Page
To Next Page IconTo Next Page
To Previous Page IconTo Previous Page
To Previous Page IconTo Previous Page
Loading...
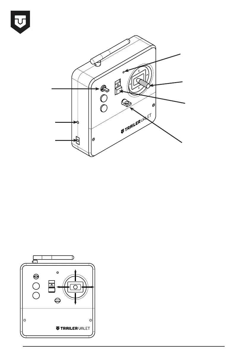
CONTROLLER OPERATION
NOTE: The 3 Speed Toggle ranges from fast, moderate, and slow.
When operating the valet at slow speeds it may be necessary to switch to the
moderate or fast speed position on the toggle when turning at 90 degrees.
Factors such as terrain and incline may affect the maneuverability of the valet.
Adjust the speed at your own discretion.
STEP 1. Switch the controller on and make sure the power indicator light turns
on and the controller beeps once. If this does not happen, check to make sure
the batteries were installed correctly. When the battery level in the controller
becomes low the controller will begin to beep, signaling you to replace or
recharge the batteries.
STEP 2. To drive the valet, move the control stick in the desired direction.
WARNING: The control stick on the remote
is very sensitive and will cause the valet to
move if it is moved accidentally. When not
using the remote it is recommended that
the power switch is turned OFF.
NOTE: If the remote is not used for more
than a couple minutes it will start beeping
as an indicator that it is still in the ON
position. This is not an indicator of low
battery level.
8
Power
Indicator LED
3 Speed
Toggle
Charging
Indicator LED
Charging Port
Lanyard
Anchor
ON/OFF
Switch
Control
Stick

Related product manuals