EasyManua.ls Logo

Trane 4TEE3F49B1000A - Two Piece Cabinet Disassembly; Unit Installation

Trane 4TEE3F49B1000A
16 pages
Print Icon
To Next Page IconTo Next Page
To Next Page IconTo Next Page
To Previous Page IconTo Previous Page
To Previous Page IconTo Previous Page
Loading...
18-GE04D2-11 3
Installer’s Guide
12. Make sure there are provisions for installing con-
densate drain lines.
13. If side, front or rear return is required, the air han-
dler must be elevated. Pedestal (TAYPLNM100)
may be used for 2/4TEE3F37. Pedestal
(TAYPLNM101) may be used for 2/4TEE3F40, 49,
65.
14. Route refrigerant & condensate drain lines away
from air handler so they do not interfere with ac-
cess panels and filters.
15. When external accessories are used, the additional
height and width requirements must be considered
in the overall space needed.
16. These units are not approved for outdoor installa-
tion.
17. These units are approved for draw-through application
only.
18. Flow-through Bypass Humidifiers
Excessive bypass air may cause water blow-off,
which will adversely affect system operation and air
cleaner performance. To verify bypass airflow, fol-
low the Bypass Humidifier Pre-Installation Check-
out and Set-Up Procedures available through your
local distributor. Ask for publication number 18-
CH37D1, latest revision.
Steam and Flow-through Fan Power Duct-
mounted Humidifiers
Follow the humidifier installation instructions.
These should only be installed on the supply air
side of the system. Atomizing style humidifiers are
not recommended with the use of this unit.
C. UNIT INSTALLATION
UPFLOW
a. For maximum efficiency, the horizontal drip
tray should be removed. See Figures 5, 6 and 7.
B. Two Piece Cabinet Disassembly
(OPTIONAL)
NOTE: For easier installation into tight areas, the 4 and
5 ton air handlers can be disassembled and reas-
sembled after moved to an attic or other space.
Steps for disassembly and reassembly (See Figures 3
and 4)
1. Disconnect wiring.
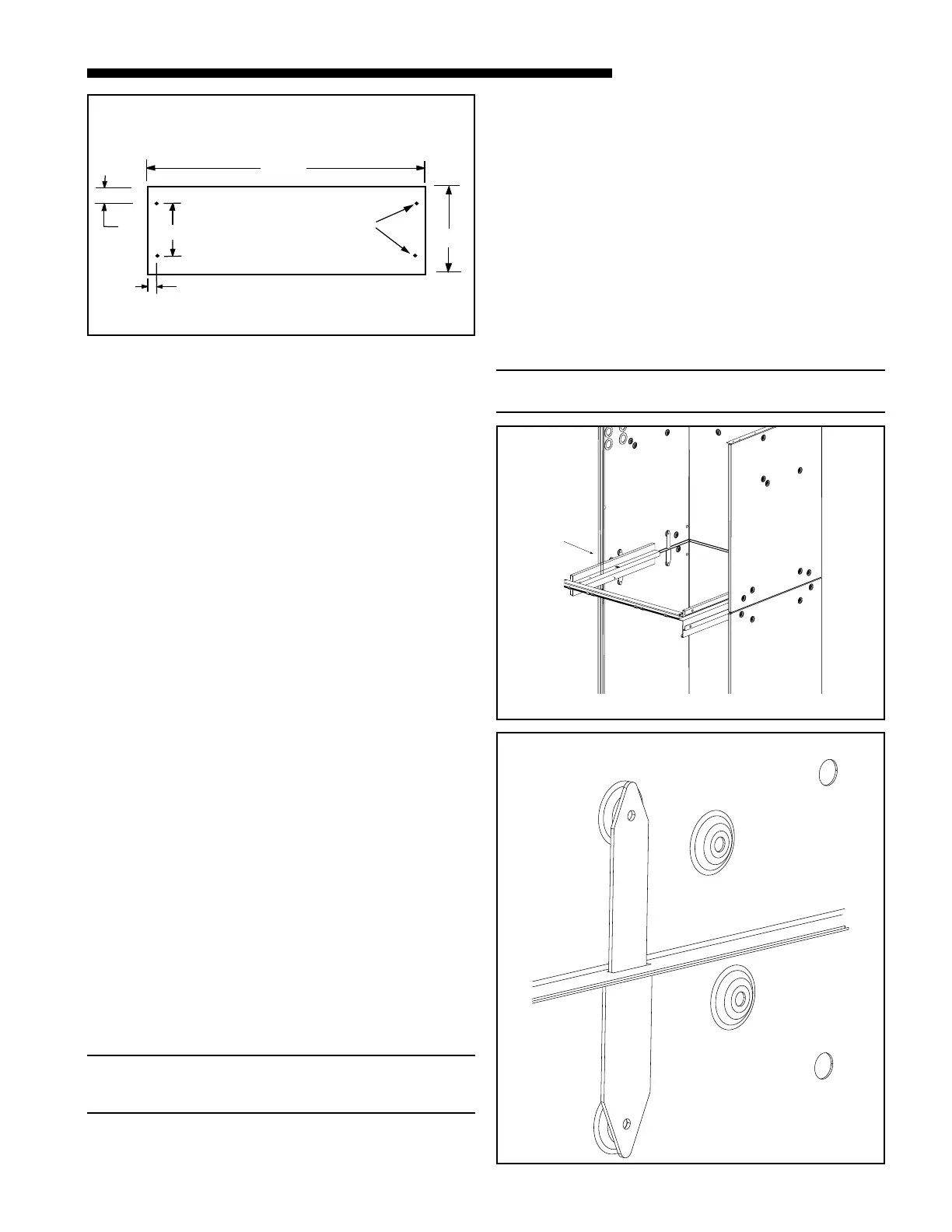
Figure 3 Closeup of Spear Locations
S
CREWS 5-8
L
OCATED ON
L
EFT SIDE
1
2
3
4
From Dwg. 21B140413
4"
6"
17"
1"
3/8"
1/4" HOLES (4)
ACCESSORY BAY99X123
IF AIRHANDLER IS USED
WITHOUT
A FACTORY FURNISHE
D
SUPPLEMENTARY HEATER, A PLATE IS REQUIRED TO COVER
THE OPEN HOLE IN THE AIR FLOW SYSTEM
Figure 2
2. Remove center bracket.
3. Remove blower assembly.
4. Remove coil.
5. Cut foil tape - minimum 3" foil tape.
6. Remove top 8 screws. See Figure 3.
7. Lift upper section.
8. Set air handler in place.
9. Attach screws - insure gaskets are aligned along
flange.
10. Use foil tape to seal - use minimum 3" foil tape.
11. Insert coil.
12. Reinstall blower assembly.
13. Reinstall center bracket.
14. Reconnect wiring.
NOTE: In Downflow, remove coil before blower by re-
versing steps 3 and 4.
2 Piece Wrapper Spear
Figure 4

Related product manuals