EasyManua.ls Logo

Trane CenTraVac Duplex CDHF - Page 11

Trane CenTraVac Duplex CDHF
116 pages
Print Icon
To Next Page IconTo Next Page
To Next Page IconTo Next Page
To Previous Page IconTo Previous Page
To Previous Page IconTo Previous Page
Loading...
11
CDHF-SVU01C-EN
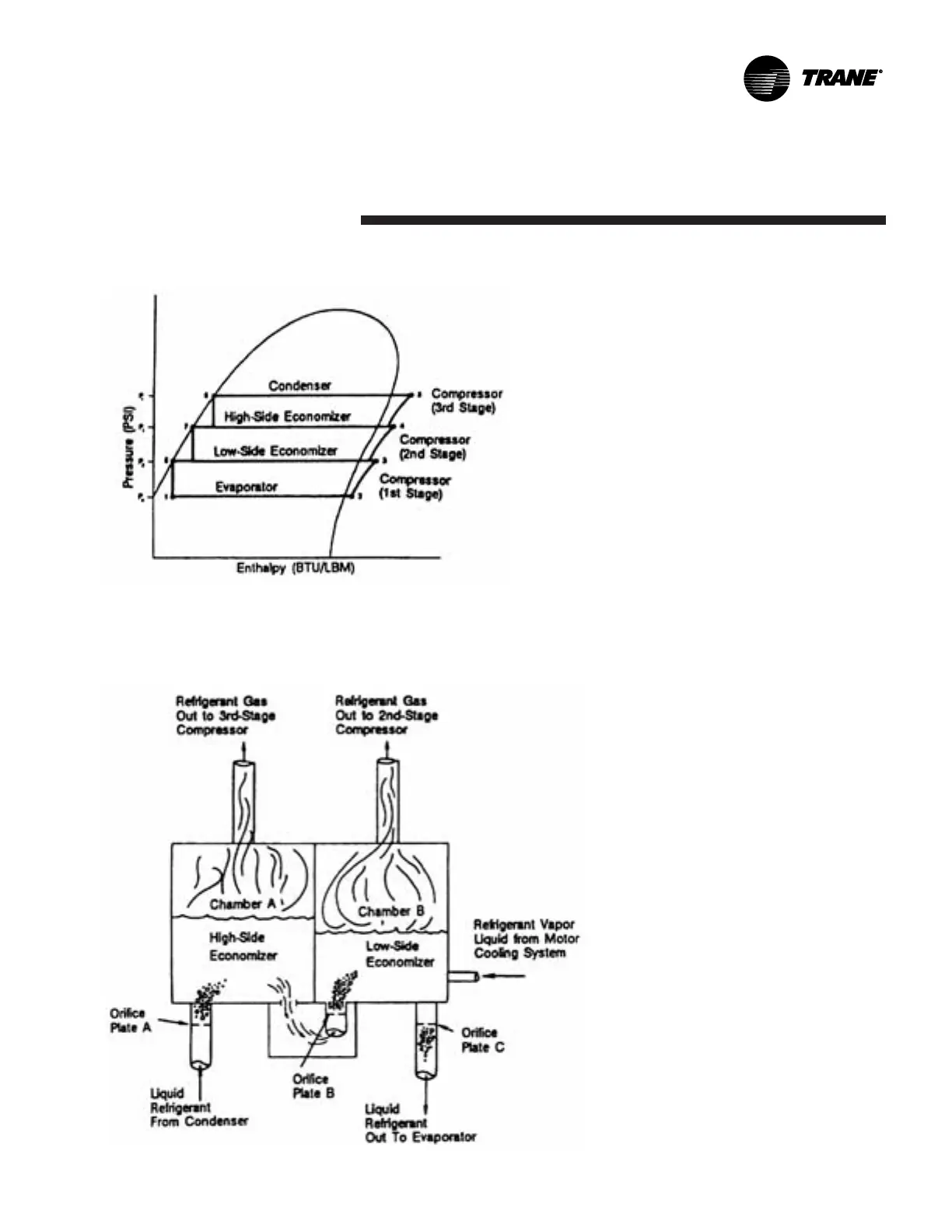
Figure 3. Pressure enthalpy curve (3 stage compressor)
Figure 4. 2-stage economizer (3 stage compressor)
General
Information

Related product manuals