EasyManua.ls Logo

Trilogy Nebula - Step 5. Excavation Bottom Preparation; Screed Rail Installation; Sand Bed Application and Compaction; Leveling and Void Filling

Default Icon
8 pages
Print Icon
To Next Page IconTo Next Page
To Next Page IconTo Next Page
To Previous Page IconTo Previous Page
To Previous Page IconTo Previous Page
Loading...
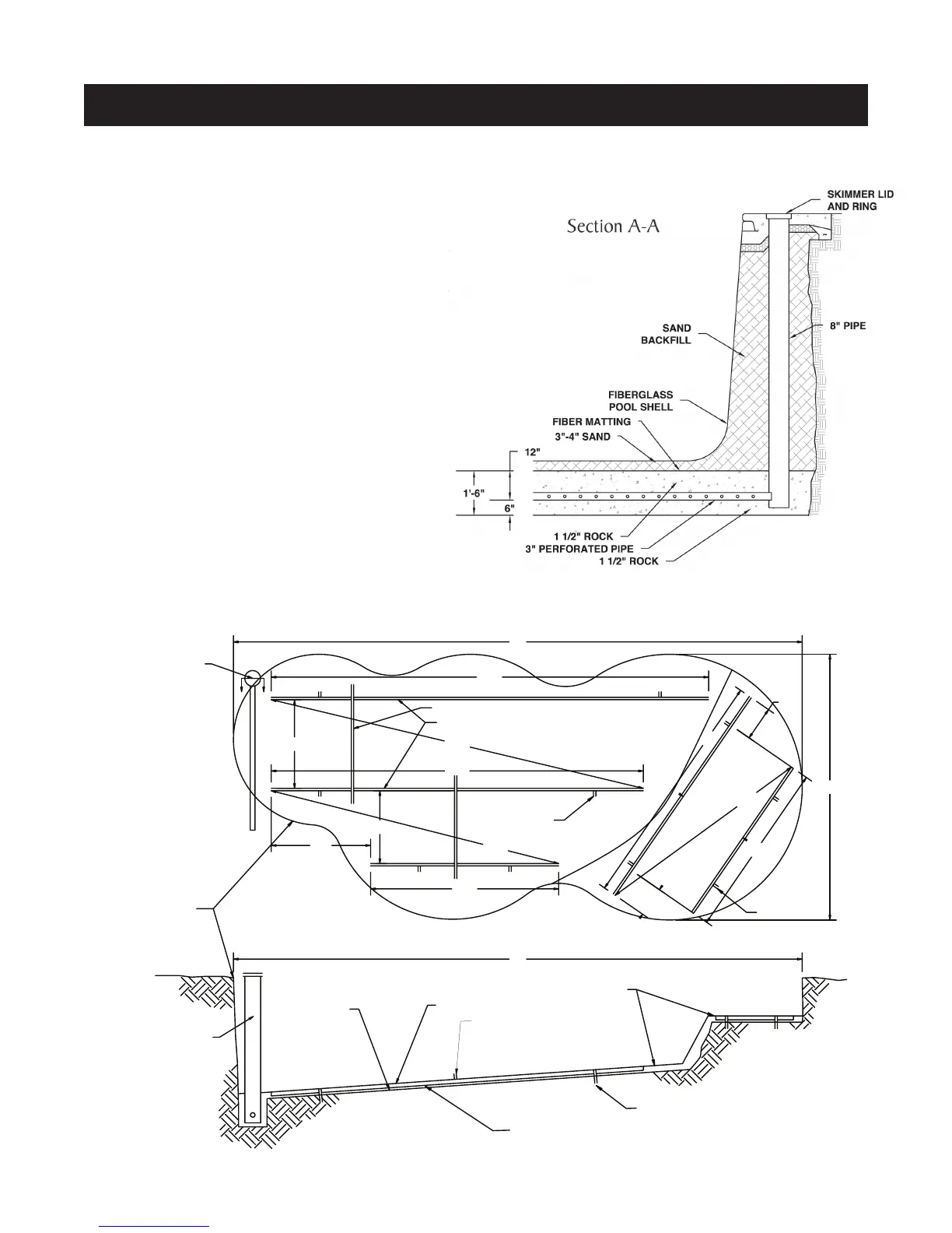
The preparation of the excavation bottom is
critical so the pool will  t properly. Thorough prepara-
tion will eliminate settling, stress cracks and a mini-
mum of time will be spent setting the pool.
First, install 2” x 4” screed rails length wise
on both sides of the excavation, using wood or metal
stakes (Fig 3). Make sure the diagonal measurement
is exact to insure that the bottom is square. Adjust the
screed rails to the appropriate height using a transit
(see Figure 2). Next, spread a layer of sand approxi-
mately 4” deep evenly over the bottom of the excava-
tion. Rake the sand  at to the top of the screed rails
(Fig 3). Compaction of the sand is achieved by the use
of water and walking over the entire bottom using your
body for weight. Rake and compact the area several
times. Screed the bottom of the excavation,  lling any
low spots as you go. The completed area will resemble
a slab of  nished concrete. Remove the screed rails
and  ll in the voids with sand, being careful not disturb
the sand.
Step 5.
PREPARATION OF THE BOTTOM SURFACE OF THE EXCAVATION
FIG. 3
A A
POOL SHELL MUST
REST SOLEY ON SAND.
NOTE:
STAKES
STAKES
SAND BED
2" x 4" SCREED RAILS
3"-4" OVER DIG
2" x 4" SCREED BOARD
2" x 4" SCREED RAILS
DIG LINE
FINISH GRADE
2" x 4" SCREED BOARD
SEE SECTION A-A
14'
30'
5'-3"
3'-10"
15'-8"
4'-8" 20'-3"
19'-7"
9'-11"
23'-1"
11'-7"
12'-8"
9'-3"
1'-7"
1'-10"
3'-10"
30'
SUMP SYSTEM
STAKES