EasyManua.ls Logo

Tripp Lite SRCABLETRAY - Page 2

Tripp Lite SRCABLETRAY
4 pages
Print Icon
To Next Page IconTo Next Page
To Next Page IconTo Next Page
To Previous Page IconTo Previous Page
To Previous Page IconTo Previous Page
Loading...
2
1 – Introduction
2 – Important Safety Instructions
SRCABLETRAY provides roof-mounted cable routing and power/data cable segregation for Tripp Lite’s SmartRack Enclosures.
SRCABLETRAYEXP provides vertical expansion for SRCABLETRAY. (SRCABLETRAY also provides secure mounting points for Tripp
Lite’s SRCABLELADDER accessory, sold separately. SRCABLELADDER allows cable bundles to span aisles and/or spaces between
enclosures. See the SRCABLELADDER manual for more information.)
Install in a controlled indoor environment, away from moisture, temperature extremes, ammable liquids and gasses, conductive
contaminants, dust and direct sunlight.
Provide suitable grounding in accordance with all applicable electrical wiring regulations.
Use of this equipment in life support applications where failure of this equipment can reasonably be expected to cause the failure of the life
support equipment or to signi cantly affect its safety or effectiveness is not recommended. Do not use this equipment in the presence of a
ammable anesthetic mixture with air, oxygen or nitrous oxide.
SAVE THESE INSTRUCTIONS
This manual contains instructions and warnings that must be followed during the installation and operation of the products described in this
manual. Read all instructions and warnings thoroughly before attempting installation. Failure to comply may invalidate the warranty and
cause property damage and/or personal injury.
• Phillips Screwdriver
13 mm Open-End Wrench or Crescent Wrench (For SRCABLETRAY installation only.)
If anything is missing, call Tripp Lite for assistance at +1.773.869.1234. Note: SRCABLETRAY and SRCABLETRAYEXP are sold separately.
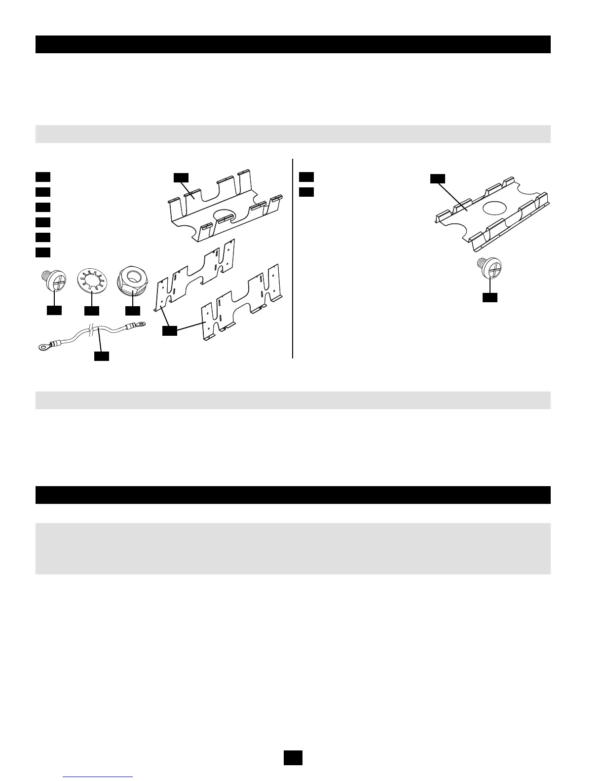
SRCABLETRAY
Trough Section (1)
Support Sections (2)
#8-32 x 1/4 Phillips Screws (8)
M6 Lock Washers (4)
M6 Hex Nuts (2)
24-inch Ground Cable (1)
SRCABLETRAYEXP
Expansion Sections (2)
#8-32 x 1/4 Phillips Screws (8)
1-1 Parts List
1-2 Tools Required
A1 A2
C1
E1
E1
F1
B1
B1
B2
A2
D1
D1
F1
C1
B2
A1

Related product manuals