EasyManua.ls Logo

Triumph THUNDERBIRD 1951 - Wiring Diagram

Triumph THUNDERBIRD 1951
212 pages
Print Icon
To Next Page IconTo Next Page
To Next Page IconTo Next Page
To Previous Page IconTo Previous Page
To Previous Page IconTo Previous Page
Loading...
::Tp
TAIL
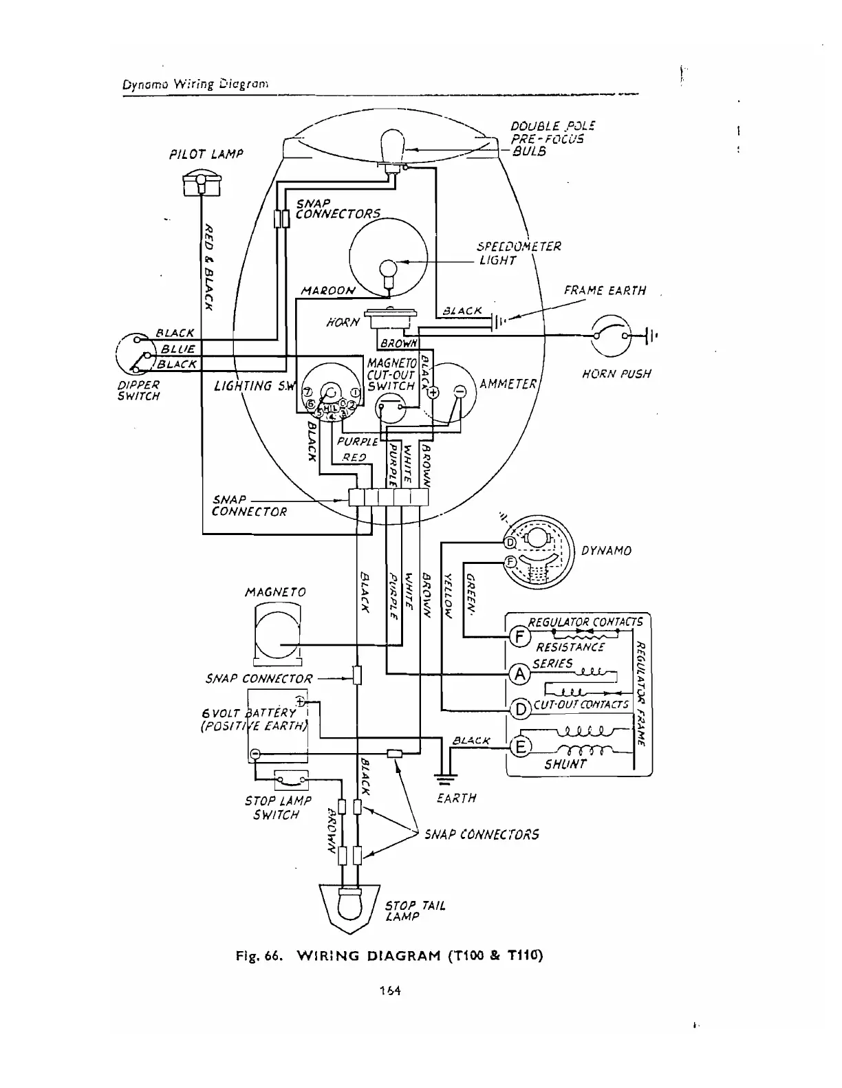
Fig.
66.
WIRING DIAGRAM
(TI00
&
T11Q

Table of Contents

Related product manuals