EasyManua.ls Logo

Triumph THUNDERBIRD 1951 - Page 169

Triumph THUNDERBIRD 1951
212 pages
Print Icon
To Next Page IconTo Next Page
To Next Page IconTo Next Page
To Previous Page IconTo Previous Page
To Previous Page IconTo Previous Page
Loading...
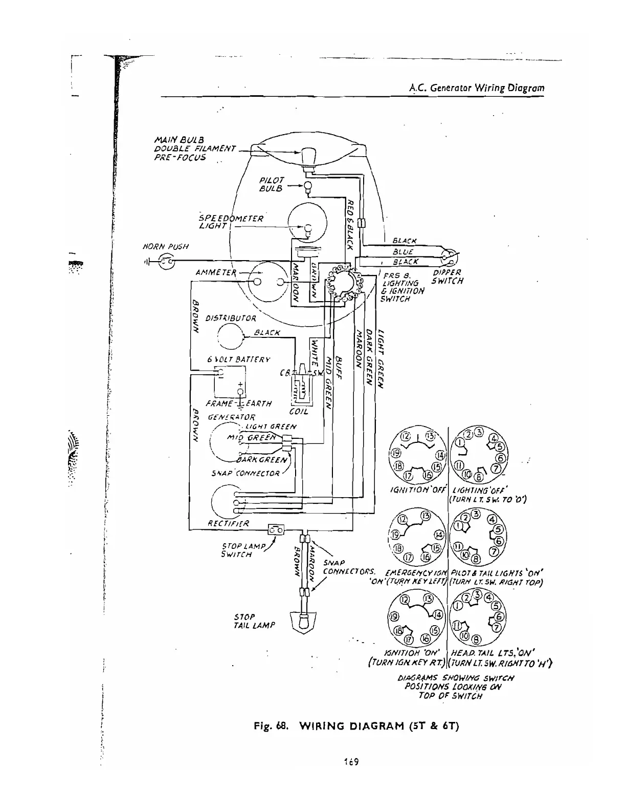
D/pGRWS
SHOW/NG
5
wlrc~
PO51
TIONS
LOOX/fl6
aY
TOP
OF SWITCH
Fig.
68.
WIRING DIAGRAM
(5T
&
6T)

Table of Contents

Related product manuals