EasyManua.ls Logo

Triumph TR2 - Page 200

Triumph TR2
422 pages
Print Icon
To Next Page IconTo Next Page
To Next Page IconTo Next Page
To Previous Page IconTo Previous Page
To Previous Page IconTo Previous Page
Loading...
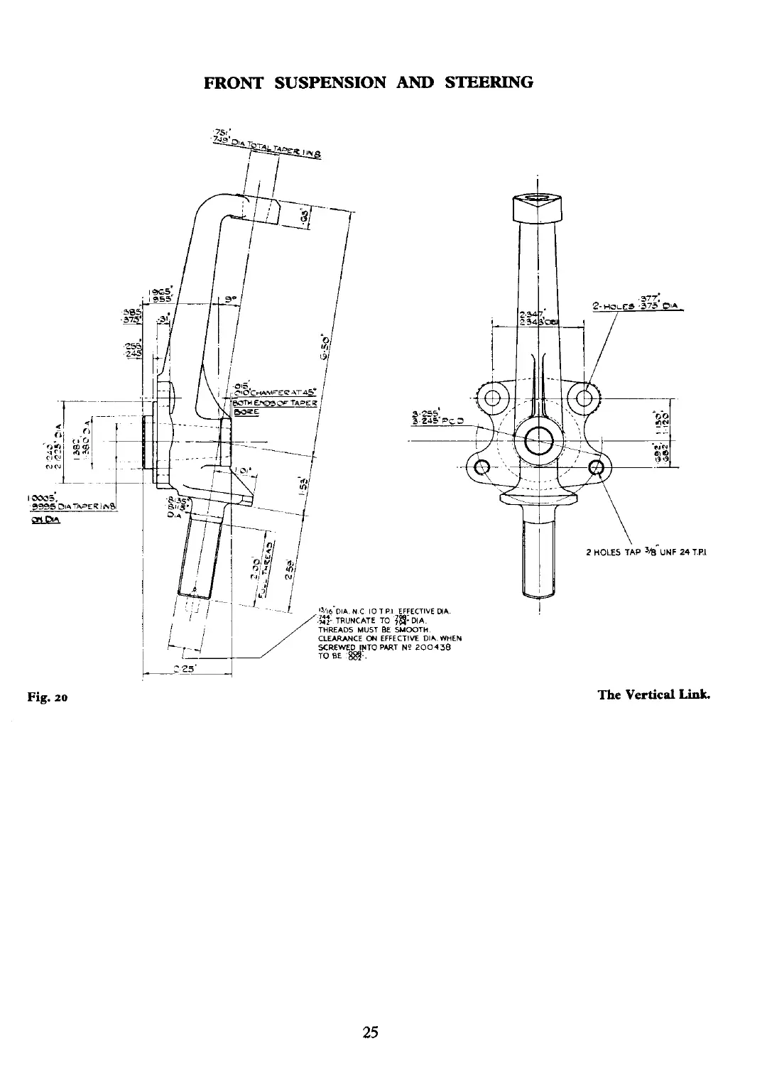
Fig.
20
FRONT SUSPENSION
AND
STEERING
The
Vertical
Link.

Other manuals for Triumph TR2

Related product manuals