EasyManua.ls Logo

Trumeter 7911 - Page 17

Trumeter 7911
24 pages
Print Icon
To Next Page IconTo Next Page
To Next Page IconTo Next Page
To Previous Page IconTo Previous Page
To Previous Page IconTo Previous Page
Loading...
17
Repetir el ciclo sin cambiar para salir de prog
Reset
Reset
Reset
Reset
Reset
Reset
Reset
Reset
Reset
+
Para entrar en PROG
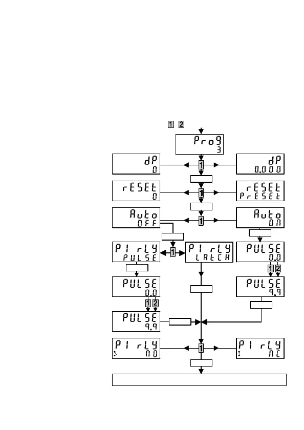
Diagrama de operaciones de programación
Para entrar en la programación presionar y mantener la Tecla 1 y la Tecla 2
simultáneamente. La palabra "PROG" aparece y un contador en la esquina derecha de la
pantalla empieza una cuenta descendente en segundos desde 3. La unidad adopta el
modo programación el cual se ilustra en el diagrama de operaciones.
Siempre que entras en el modo programación los valores visualizados son los últimos
fijados. La Tecla 1 cambia la pantalla entre las opciones de cada función. Para aceptar
los valores programados pulsa la tecla de Reset y pasar a través de todas las funciones
sin hacer cambios.
Pro9 : programación
dP : Coma decimal
prESET : Valor de
Preselección
OFF : Apagado
On : Encendido
rLy : Relé
PULSE : Pulsado
lAtCH : Bloqueo
no : Normalmente
Abierto
nc : Normalmente
Cerrado

Related product manuals