EasyManua.ls Logo

TScale VW Series - BWS Drawing

Default Icon
26 pages
Print Icon
To Next Page IconTo Next Page
To Next Page IconTo Next Page
To Previous Page IconTo Previous Page
To Previous Page IconTo Previous Page
Loading...
BW / CW/VW/BWS Series Indicator Technical Manual
- 24 -
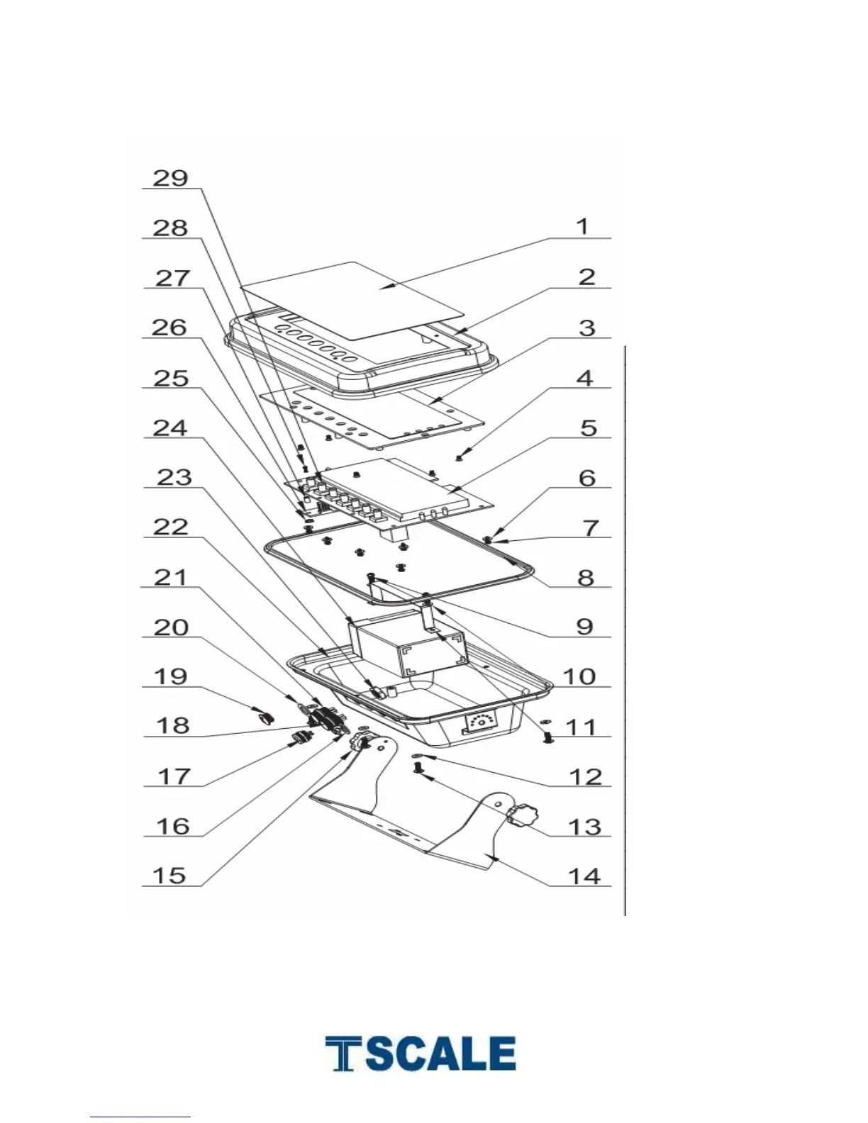
12.3. BWS Drawing

Related product manuals