EasyManua.ls Logo

Turris Omnia RTROM01-1G - Page 26

Default Icon
Print Icon
To Next Page IconTo Next Page
To Next Page IconTo Next Page
To Previous Page IconTo Previous Page
To Previous Page IconTo Previous Page
Loading...
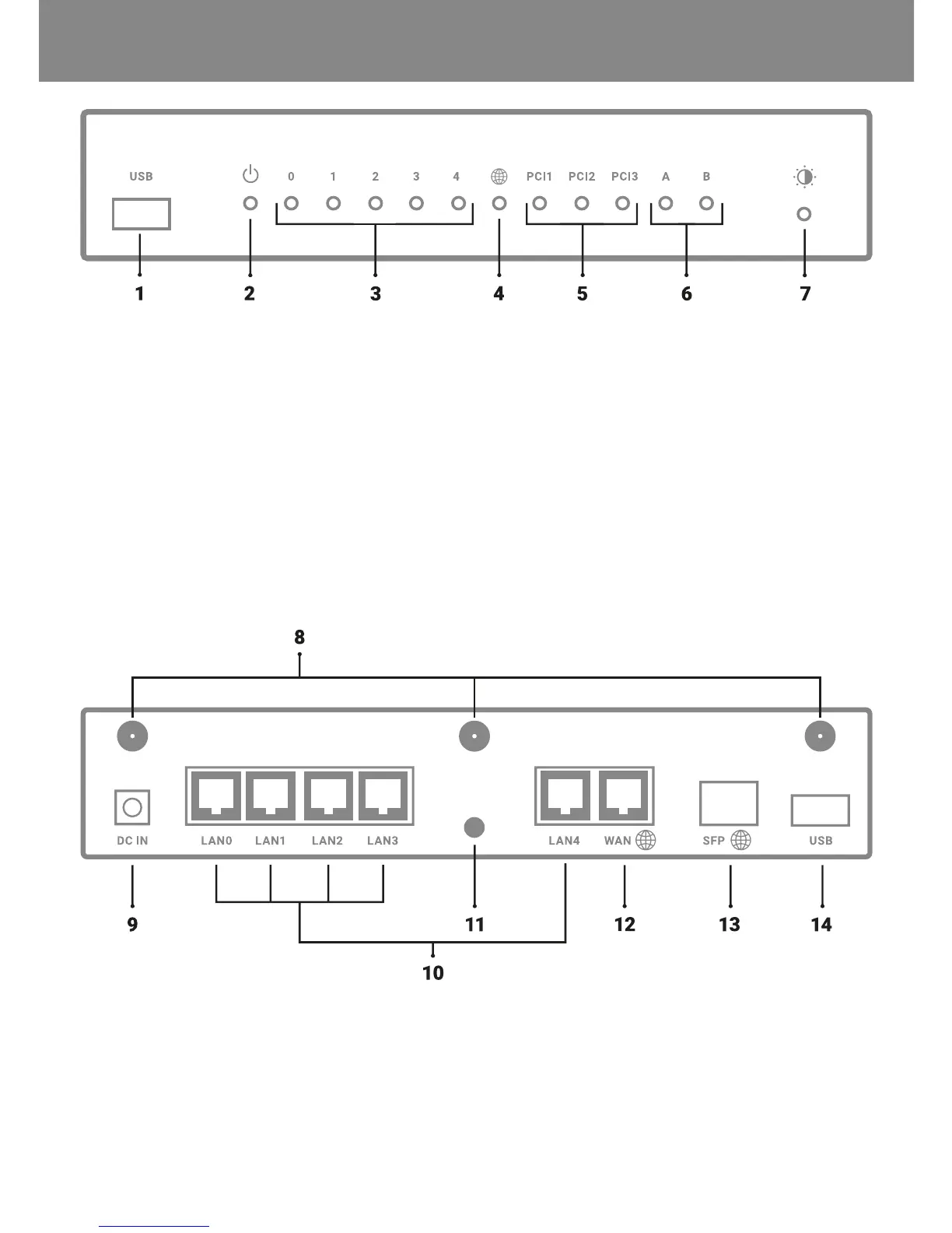
A KONNEKTOROK ÉS A VEZÉRELEMEK JELLEMZÉSE HU / 26
ELAP
1) USB 3.0
2) Bekapcsolásjelző
3) LAN-interfész aktivitásának indikátora
4) WAN-interfész aktivitásának indikátora
HÁTLAP
8) Wi-Fi-antennák konnektorai
9) Tápkonnektor
10) LAN-interfész konnektorai
5) Bővítőkártyák aktivitásának indikátora
Gyári konguráció (Wi-Fi modell):
• PCI 1 – 5 GHz Wi-Fi
• PCI 2 – 2,4 GHz Wi-Fi
• PCI 3 – nem foglalt
6) Felhasznái kijelzők
7) LED-diódák fényességének beállítógombja
11) RESET gomb
12) WAN-interfész konnektorai
13) SFP-interfész konnektorai
14) USB 3.0