EasyManua.ls Logo

TYM T431 - Wiring Diagram

TYM T431
108 pages
Print Icon
To Next Page IconTo Next Page
To Next Page IconTo Next Page
To Previous Page IconTo Previous Page
To Previous Page IconTo Previous Page
Loading...
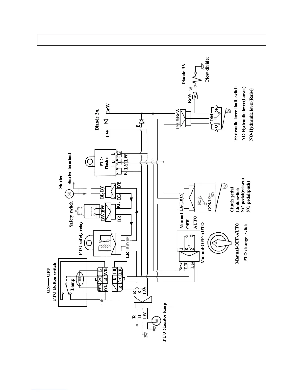
Wiring diagram of Independent PTO
101

Table of Contents

Related product manuals