EasyManua.ls Logo

UNIRAC SolarMount - Laying out L-feet; Installing L-feet

UNIRAC SolarMount
6 pages
Print Icon
To Next Page IconTo Next Page
To Next Page IconTo Next Page
To Previous Page IconTo Previous Page
To Previous Page IconTo Previous Page
Loading...
Page
3
Installation Manual 201.1 SolarMount
®
Top Mounting
Laying out L-feet
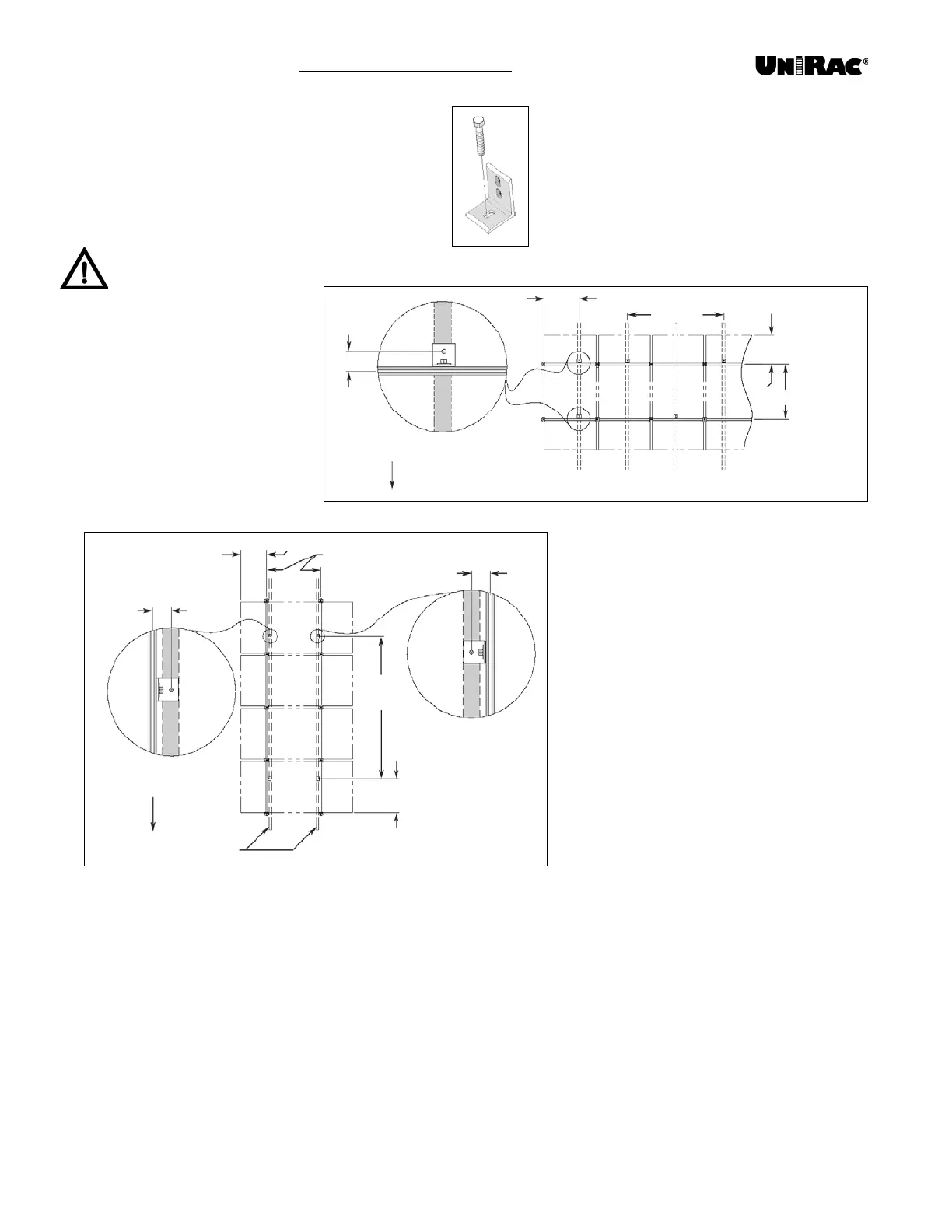
L-feet (Fig. 5) are used for installation through existing
roofi ng ma te ri al, such as asphalt shingles or sheet metal.
Use Figure 6 or Figure 7 below to locate and mark the
L-feet lag bolt holes within the installation area.
Consult UniRac’s SolarMount Code-Compliant
Planning and Assembly to determine foot spacing
that will meet code. Download the version for
Figure 6. Low-profi le layout
Installing L-feet
Drill pilot holes through the roof into the center of the rafter at each L-foot lag
bolt hole location.
Consult procedural step 6 and Table 4 (p. 8) in SolarMount Code Compliant
Planning and Assembly to select the lag bolts that meet building code wind load
requirements. Lag bolts are not pro vid ed with SolarMount rail sets.
Apply sealant into the hole, and on the shafts of the lag bolts. Seal the underside
of the L-feet with a suitable weatherproof sealant.
Securely fasten the L-feet to the roof with the lag bolts. Ensure that the L-feet face
as shown in Figure 6 or Figure 7. The single-slotted square side of the L-foot must
always lie against the roof with the double-slotted side perpendicular to the roof.
Figure 7. High-profi le layout
Figure 5
the applicable building code at
www.unirac.com.
In low-profi le layouts, stagger feet on
rafters (Fig. 7) to distribute the load.
If multiple high-profi le rows are to be
installed adjacent to one another, it
will not be possible for each row to be
centered above the rafters. Adjust as
needed, following the guidelines in
Figure 7 as closely as possible.
Overhang
Rafters
1
3
/
4
1
3
/
4
50% typical
25% typical
each end
Foot
spacing
Overhang
Lower roof edge
Rafters
1
3
/
4
Foot
spacing
25% typical
each end
50% typical
Lower roof edge
1
3
/
4
Overhang
Stagger feet on rafters