EasyManua.ls Logo

Universal M-25XPB - Page 32

Universal M-25XPB
54 pages
Print Icon
To Next Page IconTo Next Page
To Next Page IconTo Next Page
To Previous Page IconTo Previous Page
To Previous Page IconTo Previous Page
Loading...
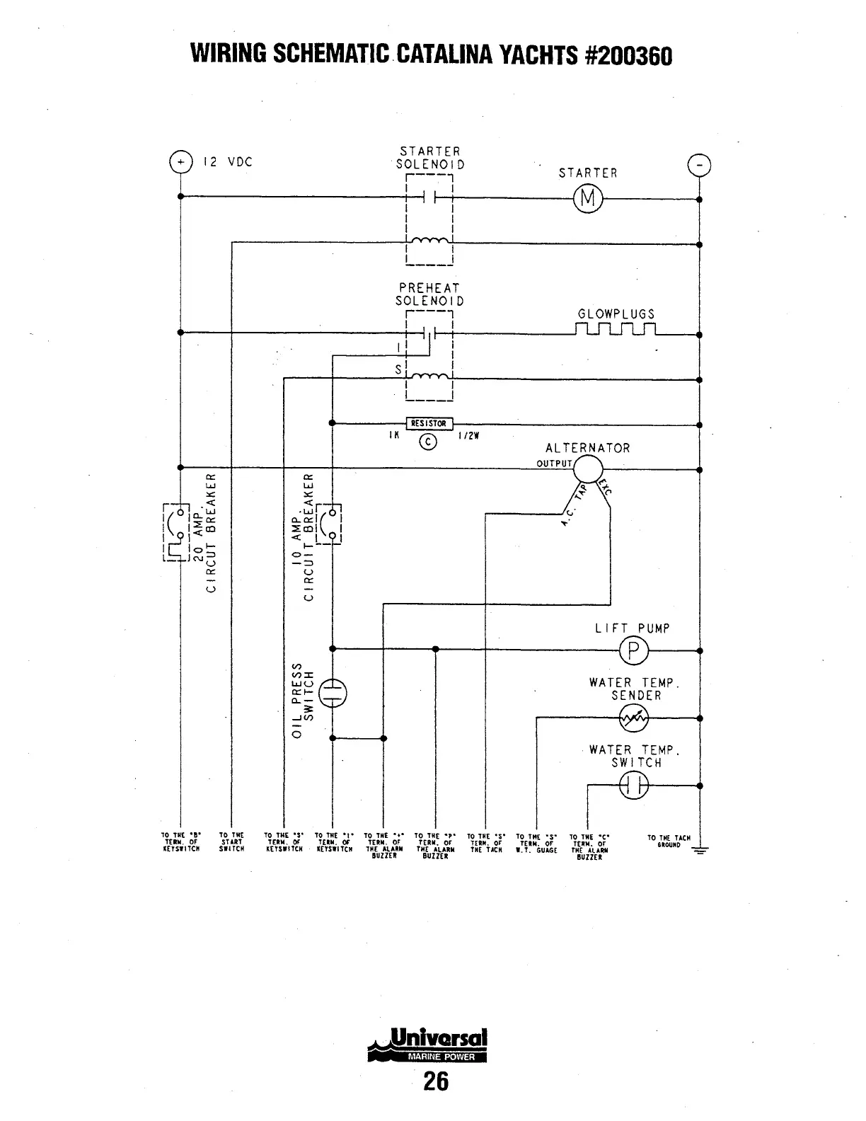
WIRING
SCHEMATIC.CATALINA
YACHTS
#200360
+
12
a:
w
:.::
lc
<
,c..:~
I
:::Ecc
I
r<
I
lol-
l-
lNG
a:
u
TO
TNE
"8"
TERN.
OF
KETSWITCH
VDC
TO
THE
START
SWITCH
a:
w
:.::
.~r(
c...
a:
I
~col
< I
~---
o-
-:::>
u
a:
u
0
TO
TN£
•s•
TO
THE
"I"
TERN.
OF
TEIN.
OF
KETSWITCH
·
I[TSWITCM
STARTER
SOLENOID
r---l
STARTER
I
I
I
t---1--------;
M
I
I
I
L
___
J
PREHEAT
SOLENOID
r---l
GLOWPLUGS
I I
,,
I
I
s'
I
I
L
___
J
RESISTOR
I K
®
1/ZW
TO
THE:
•••
TEIN.
OF
THE
ALARM
BUZZER
TO
TN[
•p•
TERN.
OF
THE
ALARM
BUZZER
26
ALTERNATOR
TO
TNE
•s•
TO
·THE
•s•
TUN.
OF
TEIII.
OF
TN[
TACH
W.
T.
GUAG[
LIFT
PUMP
p
r----.
WATER
TEMP.
SENDER
·WATER
TEMP.
TO
THE
•t•
TERII.
OF
TH£
ALAHII
BUZZER
SWITCH
TO
THE
TACH
GROUND

Other manuals for Universal M-25XPB

Related product manuals