EasyManua.ls Logo

V-tech DS6671-2 - Headset Layout

V-tech DS6671-2
110 pages
Print Icon
To Next Page IconTo Next Page
To Next Page IconTo Next Page
To Previous Page IconTo Previous Page
To Previous Page IconTo Previous Page
Loading...
Getting started
20
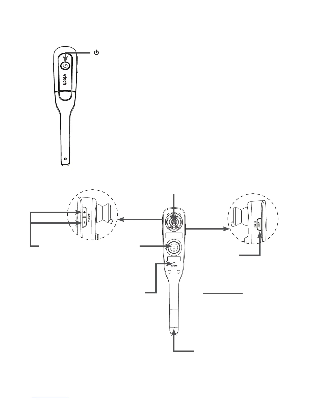
Headset layout
(on/off)
Press and hold two seconds to power on or off.
Press to answer, end or join a call (pages 36 and 43).
On in red when charging in the telephone base.
On in blue when fully charged in the telephone base.
Flashes once every 10 seconds in blue when in idle mode.
Flashes once every 10 seconds in red when in low battery mode.
Flashes twice every three seconds in blue while on a call.
Flashes quickly in blue while being paged.
Flashes quickly and alternately in red and blue while
being registered.
Flashes four times every four seconds in blue when there is an
incoming call.
MUTE/FLASH
While on a call, press to
mute the microphone
(page 39).
While on a call,
press and hold to answer
an incoming call when you
receive a call waiting alert
(page 36).
When there is an incoming
call, press to silence the
ringer in the earpiece
temporarily.
+/-/VOLUME
While on a call,
press to adjust
the listening
volume
(page 39).
When the
headset is not
in use, press
to adjust the
ringer volume
(page 29).
Rotating clip
Connect the
ear hook or
head band.
RESET
(recessed key)
Insert a paper clip
or similar object to
reset the headset
when deregistration
fails.
Microphone
Earpiece

Table of Contents