EasyManua.ls Logo

Varytec Colors SonicStrobe - 6 Connections and Operating Elements

Varytec Colors SonicStrobe
56 pages
Print Icon
To Next Page IconTo Next Page
To Next Page IconTo Next Page
To Previous Page IconTo Previous Page
To Previous Page IconTo Previous Page
Loading...
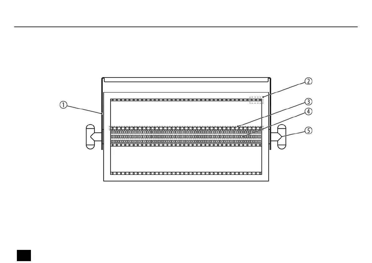
6 Connections and operating elements
Front panel
Connections and operating elements
24
Colors SonicStrobe
stroboscope