EasyManua.ls Logo

Velocity V2100 - Wiring Charts Reference; Power and Ground Wiring Chart; Speaker Wiring Chart

Default Icon
22 pages
Print Icon
To Next Page IconTo Next Page
To Next Page IconTo Next Page
To Previous Page IconTo Previous Page
To Previous Page IconTo Previous Page
Loading...
POWER WIRING
Most automobiles built in the last 10 years have adequate current capability for your Blaupunkt
amplifier. Except for systems above 500-700 watts, the factory charging system and battery
should comfortably power your audio system.
Care should be taken in the choice of wire to ensure adequate current delivery to the amplifier.
Wire diameter size (gauge) is an important factor for high power audio systems. The main battery
cable size needs to change with audio power demands. The amplifier power and length of wire run
determine the wire size that is needed. Wire diameters larger than those shown below offer limited
sonic improvements for the given increased wire cost.
Wire diameter must increase (decreased wire gauge number) for higher power systems. For
amplifier installations long distances from the car battery, the wire diameter needs to increase
(decreased wire gauge number). The power wire sizes below are sizes that allow for a maximum of
0.5 Volts DC voltage drop over the given wire length (this power line voltage drop is virtually
inaudible at the speakers and will not cause problems with your Blaupunkt amplifier).
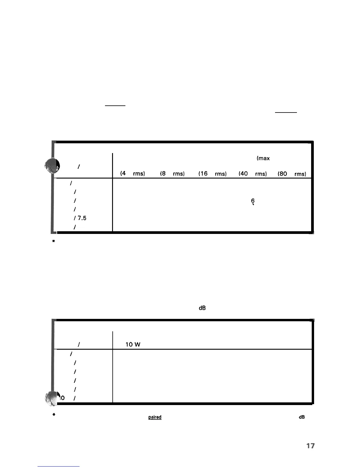
POWER AND GROUND WIRING CHART*
b
WIRE LENGTH
/
(feet
/
meters)
5 ft.
/
1.5 m
10 ft.
/
3.0 m
15 ft.
/
4.5 m
20 ft.
/
6.0 m
25 ft.
17.5
m
30 ft.
/
9.0 m
WIRE GAUGE FOR TOTAL SYSTEM AUDIO POWER
(max
output level)
50 w 100 w 200 w
500 w
1000 w
(4
A
rms)
(8 A
rms)
(16
A
rms)
(40
A
rms)
(80
A
rms)
16 12
10
8 4
16 12
10
8 4
14 12
10
6
2
14
12
IO
6 2
12
IO
8
4
0 or 00
12
10
8
4
0 or 00
+
American Wire Gauge Sizes (A.W.G.) for amplifier power and ground leads. This chart reflects maximum voltage drop
of 0.5 V dc over the given wire length. (Current draw above reflects a minimum system voltage of 12.6 V dc at the
amplifier with current values for maximum current draw with music signals. Wire gauge numbers are also inflated by 2
gauge sizes to compensate for voltage drops in connectors.)
SPEAKER WIRING
As with power wire, speaker wire size (gauge) changes with the power required and the length of
the wire run. The chart below is for a single channel output of an audio amplifier driving a
loudspeaker at a given distance with a maximum of 0.5
dB
power loss over the wire.
LOUDSPEAKER WIRING CHART*
WIRE LENGTH
WIRE GAUGE FOR TOTAL SYSTEM AUDIO POWER (max output level)
(feet
/
meters)
low
20 w 50 w
100 w
200 w
5 ft.
/
1.5 m
20 18
16
16
16
10 ft.
/
3.0 m
20
18
16
16
16
15 ft.
/
4.5 m
18 16
16
16 14
20 ft.
/
6.0 m
18 16
16
16 14
25 ft.
/
7.5 m
4
18 16
16 14
12
,O
ft.
/
9.0 m 18 16
16
14
12
+
American Wire Gauge Sizes (A.W.G.) for
paired
speaker wires. This chart reflects a maximum power drop of 0.5
dB
(well below the threshold of audibility) over the given wire length.