EasyManua.ls Logo

Velocity V2100 - Amplifier Controls and Operation; Control Descriptions

Default Icon
22 pages
Print Icon
To Next Page IconTo Next Page
To Next Page IconTo Next Page
To Previous Page IconTo Previous Page
To Previous Page IconTo Previous Page
Loading...
AMPLIFIER CONTROLS AND OPERATION
T
1
2
3
4
5
6 7
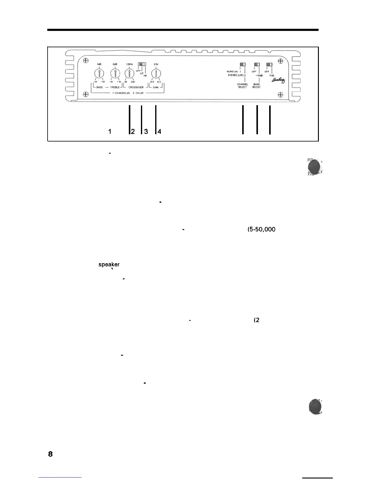
1. TONE CONTROLS
-
The tonal quality of the signal passed through the amplifier can be modified
in the bass and treble regions using the internal tone controls. Although somewhat redunda
to those on the radio, these controls help correct for small equalization problems in the car
without changing the controls on the radio. This helps improve the Signal to Noise ratio of t
system since the boosted highs are done in the amplifier and not at the other end of the RCA
cables.
2. CROSSOVER FREQUENCY SETTING
-
The internal crossover frequency control setting of the
amplifier can be continuously variable within the frequency limits shown. This control operates
in both the low-pass and high-pass modes.
3. CROSSOVER FREQUENCY CONFIGURATION
-
In the full-range mode
(5-50,000
Hz) the amp
reproduces all frequencies heard by humans. With the control in the HP (high-pass) mode, only
information above the crossover frequency setting (e.g., 120 Hz) is sent to the speakers thus
assuming that an additional subwoofer amplifier exists to properly reproduce the bass
frequencies. With the control in the LP flow-pass) mode, only low frequency signals (bass)
comes out the
speaber
leads.
4. INPUT GAIN CONTROL
-
This control matches the radio or preamp output voltage to the
amplifier’s input voltage so that full output can be achieved. Most radios provide only 0.5-l .OV
rms output at their RCA leads, so this control offers nearly any input voltage. Turning the
control clockwise effectively makes the amp play louder.
Technically speaking, this is the
voltage needed on the input of the amplifier in order to drive it to full output.
5. 2 CHANNEL/l CHANNEL MODE SELECT SWITCH
-
For both stereo mode
(2
channel) and multi-
mode (high-pass/low-pass speakers), this switch remains in the STEREO L/R position. If in the
bridge mode for higher power, this switch should be positioned in MONO A for a 1 channel
operation.
6. BASS BOOST ON/OFF
-
This switch should be used for systems that need a more bass in the
low end. It is simply a narrow peak in the bass response which can add a nice “full” low
frequency sound without the broader frequency impact of the bass tone control.
7. DISTORTION LIMITING ON/OFF
-
When turned on, this control enables the THD, circuit. When
switched on the circuit greatly reduces all distortion products at high levels but is electrically
transparent at all other listening levels. In the OFF (bypass) mode, the distortion limiting
feature is disabled so typically unwanted clipping harmonics pass on to the speakers.
8